- 1404
- 1403
- 1402
- 1401
بلاگ
نقش فیبر نوری در هدایت پهپاد؛ فناوری نوین کنترل دقیق پهپادهای نظامی
آیا ارتباط دوربین IP با فیبر نوری ممکن است؟
راهنمای کامل ONT در شبکههای فیبر نوری: عملکرد، مزایا و نصب
ONT (Optical Network Terminal) یک دستگاه حیاتی در شبکههای فیبر نوری است که اتصال با سرعت بالا و پایدار را برای خانهها، کسبوکارها، هتلها و پروژههای زیرساخت هوشمند فراهم میکند.
درک عملکرد ONT در یک شبکه فیبر نوری به برنامهریزان شبکه، ارائهدهندگان خدمات اینترنت (ISP) و تیمهای IT سازمانی کمک میکند تا عملکرد و ارائه خدمات شبکه را بهینه کنند.
این راهنما تعریف ONT، نحوه عملکرد آن در پیادهسازیهای فیبر و مزایای آن در سناریوهای مختلف کاربردی را توضیح میدهد.
ONT چیست؟
ONT مخفف Optical Network Terminal است و به عنوان دستگاه پایانی در محل کاربر در شبکههای Fiber to the Home (FTTH) یا Fiber to the Premises (FTTP) عمل میکند. این دستگاه سیگنالهای نوری منتقلشده از طریق کابلهای فیبر نوری را به سیگنالهای الکتریکی تبدیل میکند تا توسط روترها، کامپیوترها، تلفنهای IP و سایر دستگاههای شبکه محلی استفاده شوند.
جایگزینی مودمهای سنتی
در پیادهسازیهای فیبر، ONTها جایگزین مودمهای سنتی میشوند و امکانات زیر را ارائه میدهند:
ظرفیت پهنای باند بالاتر
زمان تأخیر کمتر (Latency پایین)
اتصالات پایدار مناسب برای برنامههای دادهمحور و محیطهای چند دستگاهی
اهمیت ONT در برنامهریزی شبکه
درک نقش ONTها برای برنامهریزی پیادهسازی شبکه ضروری است تا سرمایهگذاری در زیرساخت فیبر نوری به ارائه خدمات سریع و قابل اعتماد تبدیل شود.
نحوه عملکرد ONT در شبکههای فیبر نوری
در پیادهسازیهای Passive Optical Network (PON)، ONT به عنوان دروازهای بین شبکه کاربر و زیرساخت فیبر ارائهدهنده خدمات اینترنت (ISP) عمل میکند. این دستگاه دریافت و ارسال دادهها را بهطور کارآمد مدیریت میکند تا اتصال سریع، پایدار و قابل اعتماد فراهم شود.
روند کاری معمول
روند کاری معمول ONT شامل مراحل زیر است:
۱. دریافت سیگنال
دریافت سیگنالهای نوری ارسال شده از Optical Line Terminal (OLT) در سمت ارائهدهنده خدمات اینترنت.
۲. تبدیل سیگنال
تبدیل سیگنالهای نوری به سیگنالهای الکتریکی برای استفاده توسط دستگاههای شبکه.
۳. توزیع داده
انتقال سیگنالهای تبدیل شده به روترها یا مستقیماً به دستگاهها از طریق اتصال اترنت یا وایفای یکپارچه.
۴. ارسال داده به سمت بالا
تبدیل دادههای خروجی از دستگاهها به سیگنالهای نوری برای ارسال به سمت ارائهدهنده خدمات.
۵. مدیریت پهنای باند
اختصاص پهنای باند به صورت پویا تا اطمینان حاصل شود که چندین دستگاه همزمان بدون تراکم و کاهش سرعت کار کنند.
این فرآیند باعث ارائه بدون وقفه خدمات اینترنت، IPTV و VoIP میشود و حداکثر ظرفیت عملکرد شبکههای فیبر نوری را به کار میگیرد.
تفاوتهای کلیدی ONT، ONU و OLT (ONT vs ONU vs OLT: Key Differences)
درک تفاوتهای بین ONT، ONU (Optical Network Unit) و OLT (Optical Line Terminal) به شفافسازی ساختار شبکه فیبر نوری کمک میکند.
نقش هر دستگاه در شبکه فیبر نوری
به طور خلاصه:
ONT در نقطه پایانی شبکه قرار دارد و وظیفه تبدیل سیگنال نوری به الکتریکی را بر عهده دارد.
ONU میتواند چندین کاربر نهایی را در یک محیط اشتراکی پشتیبانی کند.
OLT به صورت مرکزی توزیع سیگنال را در زیرساخت PON مدیریت میکند.
مزایا و کاربردهای ONT (Benefits and Applications of ONTs)
ONTها ارزش حیاتی در شبکههای فیبر نوری ارائه میدهند و عملکرد بالا را با کاربردهای متنوع ترکیب میکنند:
۱. اتصال با سرعت بالا
پشتیبانی از سرعت گیگابیت برای استریم ویدئو، تماسهای ویدیویی و انتقال دادههای حجیم در خانهها و دفاتر.
۲. تأخیر پایین
تضمین اتصال پایدار در زمانهای اوج مصرف که برای کسبوکارها و شبکههای هتلی حیاتی است.
۳. بهرهوری انرژی
کاهش مصرف انرژی در حالی که توان عملیاتی بالا حفظ میشود، مناسب برای ساختمانهای چند واحدی (MDU) و هتلها.
۴. امنیت
ارائه رمزگذاری پیشرفته و احراز هویت برای حفاظت از دادهها.
۵. یکپارچگی خدمات
ارائه اینترنت، IPTV و VoIP از طریق یک لینک فیبر واحد برای پیادهسازی سادهتر شبکه.
۶. مقیاسپذیری
پشتیبانی از دستگاهها و خدمات اضافی با رشد نیاز شبکه، که برای پروژههای خانه هوشمند و شهر هوشمند مناسب است.
این مزایا باعث میشوند که ONTها یک جزء کلیدی در پیادهسازیهای فیبر خانگی، تجاری و عمومی باشند و شبکهها سریع، امن و آماده توسعههای آینده باقی بمانند.
انواع ONT
ONTها را میتوان بر اساس عملکرد، محیط پیادهسازی و قابلیتهای خدماتی دستهبندی کرد.
درک این دستهبندیها به انتخاب مناسب ONT مطابق با نیازهای خاص پروژه فیبر نوری کمک میکند و تضمین میکند که خدمات در سناریوهای مسکونی، سازمانی و هتلی بهطور روان ارائه شوند.
گزینههای متنوع ONT
علاوه بر ONTهای داده استاندارد و ONTهای مجهز به Wi-Fi، مدلهای مختلفی وجود دارند که نیازهای خاص پیادهسازی شبکههای فیبر نوری را برآورده میکنند. این مدلها شامل:
ONTهای مجهز به CATV
ONTهای VoIP
ONTهای PoE
ONTهای سقفی (Ceiling-Mount)
ONTهای قابل حمل (Portable)
ONTهای با پورت SFP
این تنوع انعطافپذیری بالایی برای سناریوهای مختلف شبکه فراهم میکند و انتخاب مناسب ONT را بر اساس نیاز شبکه آسان میکند.
نحوه راهاندازی ONT
نصب صحیح ONT برای اطمینان از عملکرد بهینه شبکههای فیبر نوری بسیار حیاتی است. مراحل عمومی نصب شامل موارد زیر است:
۱. اتصال فیبر
کابل فیبر نوری را به پورت مشخص شده روی ONT بهطور ایمن متصل کنید.
۲. یکپارچگی
ONT را به روتر یا سوئیچ از طریق کابل اترنت متصل کنید یا در صورت وجود، از وایفای یکپارچه استفاده کنید.
۳. فعالسازی برق
منبع تغذیه را متصل کرده و ONT را روشن کنید.
۴. فعالسازی ISP
فرآیند فعالسازی با ارائهدهنده خدمات اینترنت را کامل کنید.
۵. تأیید سیگنال
چراغهای نشانگر را برای ثبات برق، سیگنال نوری و LAN بررسی کنید.
نصبهای فضای باز (Outdoor Installations) نیاز به توجه ویژه برای ضدآب کردن و اتصال زمین دارند تا محافظت در برابر عوامل محیطی انجام شود.
سؤالات متداول درباره ONT (FAQs About Optical Network Terminals)
آیا ONT یک مودم یا روتر است؟
ONT یک مودم یا روتر سنتی نیست، اما در شبکههای فیبر نوری نقشی مشابه را ایفا میکند؛ یعنی سیگنالهای نوری را به سیگنالهای الکتریکی تبدیل میکند تا دستگاهها بتوانند به اینترنت دسترسی داشته باشند.
در حالی که مودمها در شبکههای DSL یا کابل استفاده میشوند، ONTها مخصوص اتصال فیبر طراحی شدهاند.
برخی از ONTها همچنین قابلیت روتر و وایفای داخلی دارند، که دسترسی و توزیع شبکه را در یک دستگاه فراهم میکنند.آیا ONT به منبع برق جداگانه نیاز دارد؟
بله، ONTها برای عملکرد خود به منبع تغذیه نیاز دارند. برخی از ONTها از قابلیت Power over Ethernet (PoE) پشتیبانی میکنند تا دستگاههای متصل را مستقیماً تغذیه کنند و پیادهسازی شبکه را سادهتر کنند، به ویژه در ساختمانهای چندواحدی (MDU) و محیطهای سازمانی.
چگونه ONT مناسب برای پیادهسازی را انتخاب کنیم؟
انتخاب ONT مناسب به عواملی مانند:
نیاز به Wi-Fi، VoIP یا پشتیبانی CATV
محیط نصب (داخلی یا فضای باز)
نوع خدمات مورد نیاز (خدمات تک یا چندگانه)
برای پیادهسازیهای بزرگمقیاس، قابلیت مدیریت از راه دور و بهرهوری انرژی نیز اهمیت دارد.
جمعبندی نهایی
ONT (Optical Network Terminal) یک ستون فقرات زیرساخت فیبر نوری است که اتصال با سرعت بالا و قابل اعتماد را برای محیطهای مسکونی، سازمانی و هتلی فراهم میکند.
با درک عملکرد، نیازهای پیادهسازی و مزایای ONT، برنامهریزان و اپراتورهای شبکه میتوانند بازده سرمایهگذاری در فیبر نوری را به حداکثر رسانده و خدمات پایدار و مداوم به کاربران نهایی ارائه دهند.
دستورالعمل نصب فیبر نوری مفصل (کلوژر فیبر نوری)
اجزای مفصل یا کلوژر فیبر نوری
الف) اجزا:
مفصل شامل موارد نشان داده شده در تصویر زیر است و همچنین دارای تجهیزات اضافی برای اتصال کابل میباشد. درپوش آن یک محفظه پلاستیکی استوانهای شکل با قطعات فلزی مقاوم در برابر خوردگی است. سینی مفصل برای نگهداری فیبرهای نوری به کار میرود و نگهدارندههای مفصل برای ثابت نگه داشتن اتصالات فیوژن مورد استفاده قرار میگیرند.

ب) ظرفیت کابل و مفصل:
این مفصل قادر است تا چهار کابل فیبر نوری با قطر ۱۰.۲ تا ۲۱.۶ میلیمتر را در پیکربندی بوت (Butt) پذیرش کند. ظرفیت مفصل آن تا ۴۸ اتصال فیوژن میباشد. همچنین کیتهای جانبی برای نگهداری ۲۴ مفصل مکانیکی در دسترس هستند.
ج) سازگاری با محیط بیرونی:
این مفصل فیبر نوری تمامی الزامات نصب در محیطهای بیرونی را شامل میشود، از جمله نصبهای هوایی، دفنی و زیرزمینی/چاهکها. گرومنتهای چند سایزه برای طیف وسیعی از قطر و نوع کابلها ارائه شدهاند. تجهیزات ارت و باندینگ خارجی برای دو کابل فلزی نوع لوز تیوب (Loose Tube) نیز تأمین میگردد.
د) نوع کابلهای پشتیبانی شده:
این مفصل هر دو نوع کابل فیبر نوری Central Tube و Loose Tube را پشتیبانی میکند.
کابل Central Tube: دارای یک لوله مرکزی و اعضای مقاومتی اطراف آن است و تمامی فیبرها داخل این لوله مرکزی قرار دارند.
کابل Loose Tube: شامل چندین لوله است که به صورت هلیکال یا روی یک عضو مرکزی مقاوم پیچیده شدهاند و فیبرها در داخل لولهها قرار دارند.
همانطور که در تصویر زیر نشان داده شده است.

۲. حداقل شعاع خمش کابل فیبر نوری
بهطور کلی، کابلهای فیبر نوری غیر زرهی نباید به شعاعی کمتر از ۱۰ برابر قطر خارجی خود خم شوند. کابلهای فیبر نوری زرهی نباید به شعاعی کمتر از ۱۵ برابر قطر خارجی خود خم شوند. همچنین، لولههای بافر جداگانه و فیبرها نباید از حداقل شعاع خم ۳۸ میلیمتر (۱.۵ اینچ) تخطی کنند.
۳. آمادهسازی روکش کابل فیبر نوری
کابلهای Loose Tube و Slotted Core
الف) آمادهسازی انتهای روکش
اگر ارتبندی خارجی لازم باشد، ۴۰ میلیمتر (۱.۵ اینچ) از عایق سیم مسی ۴ میلیمتری (شماره ۶) مشتری را کوتاه کنید. انتهای سیم را با مقدار کمی B-Sealant پوشش دهید و از بیرون از طریق سوراخ سیم ارت در گرومنت کنار کابل وارد کنید (به بخش ۵.۲ مرحله ۶ مراجعه شود).
۳.۱ آشکارسازی ریپکورد
نصب نشانگر نوار چسب: یک نشانگر نوار چسب در فاصله ۱ متر (۴۰ اینچ) از انتهای کابل قرار دهید.
برش حلقهای اولیه: با استفاده از چاقوی تیز، روکش خارجی را در محل نشانگر نوار چسب برش دهید. در کابلهای فلزی مراقب باشید که فلز موجدار را خراش ندهید.
مراحل ۳ تا ۵ فقط برای کابلهای فلزی اعمال میشوند:
با استفاده از چاقو، برش حلقهای دوم را ۱۶ میلیمتر (۵/۸ اینچ) از نشانگر نوار چسب به سمت انتهای کابل ایجاد کنید. این برش باید فلز موجدار را خراش دهد.
برش حلقهای سوم: روی روکش خارجی حدود ۱۵۰ میلیمتر (۶ اینچ) از انتهای کابل ایجاد کنید تا فلز موجدار خراش داده شود.
کمی کابل را در انتها خم کنید تا فلز موجدار شکسته شود. سپس بخش ۱۵۰ میلیمتری (۶ اینچ) روکش خارجی و فلز موجدار را از هسته کابل جدا کنید تا ریپکورد پیدا شود.
با استفاده از چاقو، بخش انتهایی روکش خارجی کابل را بتراشید تا ریپکورد آشکار شود.

۳.۲ برداشتن روکش خارجی کابل
کابل فلزی
۱. یک شکاف طولی ۲۵ میلیمتری (۱ اینچ) در روکش خارجی ایجاد کنید و فلز موجدار را خراش دهید. ریپکورد را از طریق شکاف در روکش و فلز موجدار تا نزدیکترین برش حلقهای بکشید.
۲. با استفاده از انبردست، روکش خارجی و فلز موجدار کابل را جدا کنید.
۳. با دقت، روکش خارجی را تا برش حلقهای نشانگر نوار چسب برش دهید و بخش ۱۶ میلیمتری (۵/۸ اینچ) روکش را بردارید.
۴. ریپکورد را همسطح انتهای فلز موجدار ببرید.

کابل دیالکتریک
۵. ریپکورد را از طریق روکش تا محل نشانگر نوار چسب بکشید.
۶. با استفاده از انبردست، روکش خارجی کابل را جدا کنید.
۷. ریپکورد و اعضای مقاومتی دیالکتریک (در صورت وجود) را همسطح با نشانگر نوار چسب ببرید.

۳.۳ برداشتن روکش داخلی کابل
۱. با دقت، روکش داخلی را در فاصله ۲۵ میلیمتر (۱ اینچ) از نشانگر نوار چسب برش حلقهای دهید.
۲. روکش داخلی را از هسته کابل جدا کنید یا با استفاده از ریپکورد زیر روکش داخلی، آن را شکاف دهید و بردارید.
۳. رشتههای الیاف آرامید (Aramid Yarn)، نوار پیچشی هسته و ریپکورد (در صورت وجود) را همسطح با انتهای روکش داخلی ببرید.
۴. عضو مقاوم مرکزی را در حدود ۷۵ میلیمتر (۳ اینچ) از نشانگر نوار چسب برش دهید.
۵. ماده پرکننده را از روی روکش داخلی، لولههای آزاد (Loose Tubes) و عضو مقاوم مرکزی تمیز کنید.
۶. نشانگر نوار چسب را بردارید.


ب) آمادهسازی میانروکش کابل
۳.۴ آشکارسازی ریپکورد
۱. قرار دادن نشانگر نوار چسب: نشانگرهای نوار چسب را با فاصله ۱.۵ متر (۶۰ اینچ) در نقاط مورد نظر روی کابل قرار دهید.
۲. با استفاده از چاقوی تیز، روکش خارجی را در محل نشانگرها برش حلقهای دهید و مراقب باشید که اگر فلز موجدار وجود دارد، آن را خراش ندهید.
کابل فلزی
۳. با استفاده از چاقو، یک جفت برش حلقهای دوم در فاصله ۱۶ میلیمتر (۵/۸ اینچ) داخل نشانگرها ایجاد کنید. این برشها باید فلز موجدار را خراش دهند.
۴. با چاقو، یک برش حلقهای دیگر روی روکش خارجی در حدود ۱۵۰ میلیمتر (۶ اینچ) از یکی از برشهای داخلی ایجاد کنید تا فلز موجدار خراش داده شود.
۵. با استفاده از انبردست، بخش ۱۵۰ میلیمتری (۶ اینچ) روکش را جدا کنید. محل درز همپوشانی را پیدا کرده و بخش ۱۵۰ میلیمتری فلز موجدار را بردارید تا ریپکورد آشکار شود.

۶.با استفاده از چاقو، بخش روکش خارجی داخل یکی از نشانگرهای نوار چسب را بتراشید تا ریپکورد آشکار شود.

۳.۵ برداشتن روکش خارجی
کابل فلزی
۱. یک شکاف طولی ۲۵ میلیمتری (۱ اینچ) در روکش خارجی ایجاد کنید و فلز موجدار را خراش دهید. ریپکورد را از طریق شکاف در روکش و فلز موجدار تا برش حلقهای داخلی دیگر بکشید.
۲. با استفاده از انبردست، روکش خارجی و فلز موجدار کابل را جدا کنید.
۳. با دقت، روکش خارجی را تا نشانگرهای نوار چسب در هر دو انتهای بازشدگی روکش برش دهید و بخشهای ۱۶ میلیمتری (۵/۸ اینچ) روکش را بردارید.
۴. ریپکورد را همسطح با انتهای فلز موجدار ببرید.

۳.۶ برداشتن روکش داخلی
مراحل مشترک (کابل فلزی و دیالکتریک)
۱. با دقت، روکش داخلی را در فاصله ۲۵ میلیمتر (۱ اینچ) از نشانگر نوار چسب برش حلقهای دهید.
۲. رشتههای الیاف آرامید (Aramid Yarn)، ریپکورد و نوار پیچشی هسته (در صورت وجود) را همسطح با انتهای روکش داخلی ببرید.
۳. عضو مقاوم مرکزی را در حدود ۷۵ میلیمتر (۳ اینچ) از نشانگر نوار چسب برش دهید.
۴. ماده پرکننده را از روی روکش داخلی، لولههای آزاد (Loose Tubes) و عضو مقاوم مرکزی تمیز کنید.
۵. نشانگر نوار چسب را بردارید.


کابلهای فیبر نوری Central Tube OSP
ج) آمادهسازی انتهای روکش
۳.۷ آشکارسازی سیمهای مقاومتی خارجی
۱. یک نشانگر نوار چسب در فاصله ۱ متر (۴۰ اینچ) از انتهای کابل قرار دهید.
۲. با استفاده از چاقو، روکش پلاستیکی را در محل نشانگر نوار چسب برش حلقهای دهید.
۳. با یک چاقوی تیز، حدود ۱۵۰ میلیمتر (۶ اینچ) از روکش پلاستیکی انتهای کابل را بتراشید تا اعضای مقاومتی و ریپکوردها آشکار شوند.
۴. هر ریپکورد را از طریق روکش تا نشانگر نوار چسب بکشید تا روکش به دو بخش تقسیم شود. سپس هر ریپکورد را همسطح با نشانگر برش دهید.

۳.۸ برداشتن روکش پلاستیکی
۱. با استفاده از انبردست، هر دو بخش روکش پلاستیکی را به عقب بکشید تا از فلز موجدار جدا شود.
۲. در صورت وجود، هر دو سیم مقاومتی فلزی را در فاصله ۵۰ میلیمتر (۲ اینچ) از نشانگر نوار چسب برش دهید. سپس سیمهای مقاومتی را به دقت باز کنید تا به فلز موجدار دسترسی پیدا کنید. در این مرحله سیمها را خم نکنید.
۳. اگر کابل دیالکتریک است، اعضای مقاومتی دیالکتریک، ریپکوردها و سایر مواد دیالکتریک را همسطح با نشانگر نوار چسب برش دهید و به مرحله ۳.۱۱ بروید.

۳.۹ برداشتن فلز موجدار
۱. در درز اتصال فلز موجدار، آن را در فاصله ۱۶ میلیمتر (۵/۸ اینچ) از نشانگر نوار چسب برش دهید.
2. یک بخش از فلز موجدار را در انتهای کابل باز کنید تا ریپکورد داخلی و لوله مرکزی (Core Tube) آشکار شود.
3. ریپکورد را گرفته و از طریق فلز موجدار، در مقابل همپوشانی فلز موجدار، بکشید تا بازشدگی مورد نظر ایجاد شود. بخشهای شکافته شده فلز موجدار را جدا کنید و ۱۶ میلیمتر (۵/۸ اینچ) از فلز موجدار را نمایان بگذارید.
4. روکش پلاستیکی باقیمانده روی فلز موجدار را بتراشید.

۳.۱۰ برداشتن لوله مرکزی (Core Tube)
۱. ریپکورد را در محل مشخص شده برش دهید.
۲. با دقت، لوله مرکزی را در فاصله ۳۸ میلیمتر (۱.۵ اینچ) از نشانگر نوار چسب برش حلقهای دهید. لوله مرکزی را در محل برش خم کرده تا جدا شود و سپس آن را از روی فیبرها خارج کنید.
۳. نشانگر نوار چسب را بردارید.


۳.۱۱ شناسایی دستههای فیبر
۱. نگه داشتن دسته فیبر کشیده: هر بار یک انتهای بایندر (Binder) را بکشید. بایندر دور فیبرها سفت شده و سپس از دسته جدا میشود. بایندر را در انتهای دسته که دورتر از لوله مرکزی (Core Tube) است گره بزنید تا شناسایی دسته حفظ شود.
۲. با استفاده از یک دستمال مخصوص (Utility Wipe)، ماده پرکننده اضافی را از روی دستههای فیبر پاک کنید.

د) آمادهسازی میانروکش
۳.۱۲ آشکارسازی سیمهای مقاومتی خارجی
۱. قرار دادن نشانگر نوار چسب: نشانگرهای نوار چسب را با فاصله ۱.۵ متر (۶۰ اینچ) در نقاط مورد نظر روی کابل قرار دهید.
۲. با استفاده از چاقوی تیز، روکش پلاستیکی را در هر دو محل نشانگر نوار چسب برش حلقهای دهید.
۳. در یکی از نشانگرها، با چاقو حدود ۱۵۰ میلیمتر (۶ اینچ) از روکش پلاستیکی روی هر یک از دو سیم مقاومتی را بتراشید تا ریپکوردها آشکار شوند.
۴. هر دو ریپکورد را در محل نشانگر که روکش تراشیده شده بود برش دهید و از طریق روکش تا نشانگر دیگر بکشید تا روکش به دو بخش تقسیم شود. سپس هر ریپکورد را همسطح با نشانگر برش دهید.

۳.۱۳ برداشتن روکش پلاستیکی
کابل فلزی
۱. با استفاده از انبردست، هر دو بخش روکش پلاستیکی را به عقب بکشید تا روکش از فلز موجدار جدا شود.
۲. هر دو سیم مقاومتی را در فاصله ۵۰ میلیمتر (۲ اینچ) از هر نشانگر نوار چسب برش دهید. سیمهای مقاومتی را با دقت باز کنید تا به فلز موجدار دسترسی پیدا کنید. در این مرحله سیمها را خم نکنید.

۳. با استفاده از انبردست، دو بخش روکش کابل را تا نشانگر نوار چسب به عقب بکشید. کابل را در محل برش حلقهای خم کنید تا امکان جدا کردن دو بخش روکش فراهم شود.
۴. اعضای مقاومتی، ریپکوردها و هر ماده دیالکتریک دیگر موجود را همسطح با هر دو نشانگر نوار چسب برش دهید و به بخش ۳.۱۷ بروید.

۳.۱۴ آمادهسازی برای برداشتن فلز موجدار
۱. در درز اتصال فلز موجدار، فلز را در فاصله ۱۶ میلیمتر (۵/۸ اینچ) از هر نشانگر نوار چسب برش دهید.
۲. در یکی از انتهای بازشدگی، حدود ۱۰۰ میلیمتر (۴ اینچ) از نشانگر نوار چسب را اندازهگیری کنید و در محل درز، فلز موجدار را برش دهید. سپس بخش کوتاه فلز موجدار را بردارید تا لوله مرکزی (Core Tube) و ریپکورد آشکار شوند.

۳.۱۵ برش فلز موجدار با ریپکورد
۱. ریپکورد را در محل مشخص شده برش دهید.
۲. ریپکورد را دور نوک انبردست بپیچید و بکشید تا فلز موجدار را در مقابل همپوشانی درز فلز برش دهد. ادامه دهید و فلز موجدار را با کشیدن ریپکورد در زاویه ۹۰ درجه برش دهید. این کار را تا فاصله ۱۶ میلیمتر (۵/۸ اینچ) از نشانگر نوار چسب انجام دهید. توجه: کشیدن ریپکورد در زاویهای غیر از ۹۰ درجه نسبت به کابل ممکن است باعث شکستن ریپکورد شود.

۳.۱۶ برداشتن فلز موجدار
با کشیدن ملایم، درز همپوشانی فلز را جدا کرده و هر نیمه فلز موجدار را تا فاصله ۱۶ میلیمتر (۵/۸ اینچ) از نشانگر نوار چسب جدا کنید. سپس فلز موجدار را در فاصله ۱۶ میلیمتر از نشانگرها برش داده و بردارید.
۳.۱۷ برداشتن لوله مرکزی (Core Tube)
۱. لوله مرکزی را در فاصله ۳۰ میلیمتر (۱.۲۵ اینچ) از هر نشانگر نوار چسب علامتگذاری کنید.
۲. با دقت، لوله مرکزی را بین دو علامت شکاف طولی دهید.
۳. سپس با دقت، لوله مرکزی را در هر دو علامت برش حلقهای داده و آن را بردارید تا فیبرها آشکار شوند.

۳.۱۸ شناسایی واحد(های) فیبر برای اتصال
۱. انتخاب واحد(های) فیبر: واحد(های) فیبری که قرار است Splice شوند را انتخاب کرده و بایندر واحدها را در مرکز برش دهید. در حالی که دسته فیبر کشیده نگه داشته شده است، انتهای بایندر را بکشید. بایندر دور فیبرها سفت شده و واحد مورد نظر را از بقیه دسته جدا میکند. بایندر بریده شده را در هر دو انتهای واحد گره بزنید تا شناسایی واحد حفظ شود.
۲. با استفاده از دستمال مخصوص (Wipe)، ماده پرکننده اضافی را از روی واحد(های) فیبر پاک کنید.

۴. نصب تجهیزات اتصال و زمین
الف) کابلهای Loose Tube
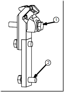
۴.۱ نصب گیره اتصال (Bond Clamp)
۱. گیره کابل را روی روکش کابل قرار دهید یا بلغزانید. اگر فلز موجدار دارای روکش پلاستیکی است، با استفاده از چاقوی تیز آن را بتراشید.
۲. کفشک اتصال (Bond Shoe) را زیر فلز موجدار قرار دهید تا پیچ کفشک اتصال به فلز موجدار بچسبد.
۳. صفحه اتصال (Bond Plate) را روی کفشک قرار دهید. سپس گیره روکش (Sheath Grip) را با استفاده از سوراخ وسط از سه سوراخ موجود روی پیچ اتصال قرار دهید و با مهره ششگوش محکم کنید.
۴. گیره روکش را با گیره کابل در حالت نشان داده شده ثابت کنید.

ب) کابل Central Tube (فلزی OSP)
۴.۲ برداشتن روکش خارجی
گیره کابل تأمین شده با پوشش (Closure) را روی کابل قرار دهید. از گیره کابل تأمین شده با بستهبندی استفاده نکنید.
روکش پلاستیکی کابل را به عقب برش دهید تا ۱۶ میلیمتر (۵/۸ اینچ) از فلز موجدار آشکار شود. نوار فایبرگلاس را کمی بلندتر از فلز موجدار باقی بگذارید.
۴.۳ نصب پایه نگهدارنده سیم (Wire Retainer Base)
۱. دو عضو مقاومتی (Strength Members) را ۹۰ درجه نسبت به کابل خم کنید.
۲. از روغن ضد زنگ (Anti-Seize Lubricant) روی سیمها یا دسته سیمها برای حفاظت در برابر خوردگی استفاده کنید.
۳. پایه نگهدارنده سیم (Wire Retainer Base) را روی کابل و بین دو سیم OSP قرار دهید. سیمها باید در شیارهای نگهدارنده سیم قرار بگیرند.


۴.۴ محکم کردن پایه نگهدارنده سیم
۱. عضو گیره روکش (Sheath Grip Member) را روی روکش کابل همانطور که نشان داده شده، قرار دهید.
۲. گیره کابل (Cable Clamp) را روی Wire Retainer و Sheath Grip بلغزانید، به طوری که پیچ گیره در کنار پایه نگهدارنده سیم قرار گیرد. پیچ گیره کابل را محکم کنید تا Wire Retainer و Sheath Grip به کابل ثابت شوند.
۳. اگر فلز موجدار دارای روکش پلاستیکی است، با چاقوی تیز روکش را بتراشید تا فلز خالی آشکار شود.
۴. سیمها یا دسته سیمهایی که از پایه عمودی نگهدارنده سیم بیرون زدهاند را تا حد امکان نزدیک به نگهدارنده برش دهید.

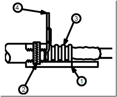
۴.۵ نصب کفشک اتصال (Bond Shoe)
کفشک اتصال را بین فلز موجدار و نوار فایبرگلاس قرار دهید تا کفشک اتصال به انتهای فلز موجدار برسد. کفشک اتصال باید با پایه نگهدارنده سیم (Wire Retainer) همراستا باشد.

۴.۶ قرار دادن صفحه اتصال و بلوک اتصال
۱. صفحه اتصال (Bond Plate) را روی پیچ کفشک اتصال (Bond Shoe) قرار دهید. سوراخ در پایه صاف صفحه اتصال باید با سوراخ پایه نگهدارنده سیم (Wire Retainer) همراستا باشد.
۲. بلوک اتصال (Bonding Block) را طوری قرار دهید که پیچهای تنظیم به سمت دور از کابل باشند و سیم بین بلوک اتصال و در شیارهای نگهدارنده سیم قرار گیرد.

۴.۷ محکم کردن صفحه اتصال و بلوک اتصال
۱. پیچ را از سوراخ صفحه اتصال (Bond Plate) و پایه عمودی Wire Retainer عبور دهید. سپس با استفاده از پیچگوشتی، پیچ را در سوراخ وسط بلوک اتصال (Bonding Block) محکم کنید. در این مرحله میتوان نوار فایبرگلاس را نیز برید.
۲. با استفاده از ابزار ششگوش تأمین شده، مهره ششگوش را روی پیچ کفشک اتصال (Bond Shoe Stud) ببندید.
۳. در صورتی که جداسازی روکش (Sheath Isolation) لازم باشد، با استفاده از انبردست برش فلز (Metal Cutting Pliers)، Sheath Grip را در دو محل روی خطوط فرو رفته برش دهید.

۵. مونتاژ کابلها در پوشش (Closure)
محل ترجیحی برای دو کابل اصلی در پورت پایین صفحه انتهایی (Lower End Plate Port) است. اگر کابل سوم یا چهارم لازم باشد، راحتتر است که به عنوان کابل انشعابی (Branch Cable) در پورت بالایی صفحه انتهایی نصب شود. این پوشش Fiber Optic Splice Closure برای دو کابل در هر یک از دو پورت طراحی شده است. در صورتی که تنها یک کابل در یک پورت نصب شود، از درپوش لاستیکی (Rubber Grommet Plug) تأمین شده برای جایگزینی کابل دوم استفاده میشود.
الف) کابلهای اصلی – Loose Tube و Slotted Core
۵.۱ نصب کابلها روی صفحه انتهایی (End Plate)
۱. پیچ دستگیره (Knob) را باز کرده و نگهدارنده گرامت (Grommet Retainer) را از صفحه انتهایی جدا کنید.
۲. مونتاژ صفحه انتهایی (End Plate Assembly) را طوری قرار دهید که پورت پایین به بالا باشد. سپس سه پیچ توزیع کننده (Distribution Organizer) که به صفحه انتهایی متصل است را باز کنید.

۳. در صورتی که جداسازی روکش (Sheath Isolation) لازم باشد، با استفاده از انبردست برش فلز (Metal Cutting Pliers)، Sheath Grip را در دو محل روی خطوط فرو رفته برش دهید.

۴. کابلها و Sheath Grip را از پورت پایین صفحه انتهایی (Bottom End Plate Port) عبور دهید و چهار سوراخ موجود در Sheath Grip را با چهار پایه روی Backbone همراستا کنید. مراقب باشید که Sheath Grip خم نشود.
۵. Sheath Grip را با استفاده از چهار پیچ خودکار (Self-Tapping Screws) به Backbone محکم کنید.

۵.۲ نصب گرامت و اتصال زمین خارجی
۱. B-Sealant را داخل دو سوراخ کابل در گرامت اعمال کنید.
۲. گرامت را روی کابلها قرار دهید، به طوری که لبه نگهدارنده باریک گرامت به سمت صفحه انتهایی (End Plate) و شکافهای گرامت به سمت مرکز صفحه انتهایی باشد. سوراخهای زمین خارجی باید به سمت بیرون قرار گیرند.
۳. B-Sealant را داخل دو شکاف گرامت و همچنین روی سطح بیرونی مهر و موم گرامت اعمال کنید.
۴. با استفاده از شستها، گرامت را به داخل پورت صفحه انتهایی فشار دهید تا سطح بیرونی گرامت صاف شود و لبه نگهدارنده گرامت از سطح داخلی صفحه انتهایی بیرون بزند.
۵. اگر اتصال فیوژن به کابل سوم و چهارم نیاز ندارد، پورت باز صفحه انتهایی باید با گرامت و پلاگینهای گرامت استفاده نشده مسدود شود:
الف) B-Sealant را داخل دو سوراخ کابل در گرامت اعمال کنید.
ب) پلاگینهای گرامت را داخل گرامت قرار دهید. B-Sealant را داخل دو شکاف گرامت و اطراف سطح بیرونی مهر و موم گرامت اعمال کنید.
ج) با استفاده از شستها، گرامت را داخل پورت صفحه انتهایی فشار دهید تا سطح بیرونی گرامت صاف شود و لبه نگهدارنده گرامت از سطح داخلی صفحه انتهایی بیرون بزند.

۶. اگر اتصال زمین خارجی (External Grounding) لازم باشد، ۴۰ میلیمتر (۱.۵ اینچ) از عایق سیم مس جامد ۴ میلیمتری (No. 6) که توسط مشتری تأمین شده است را جدا کنید. انتهای سیم لخت شده را با مقدار کمی B-Sealant پوشش دهید و از بیرون از طریق سوراخ سیم زمین در گرامت که کنار کابل قرار دارد، وارد کنید.
۷. کانکتور زمین خارجی (External Ground Connector) را با استفاده از ابزار ششگوش (Hex Tool) به انتهای سیم مسی ۴ میلیمتری وصل کنید. مهره ششگوش را از پایه Bond Clamp Stud باز کرده و کانکتور را روی پایه قرار دهید. سپس با مهره ششگوش محکم کنید.

۸. Grommet Retainer را روی صفحه انتهایی قرار داده و با پیچ دستگیره (Knob) محکم کنید.
۹. کابلها را با استفاده از گیرههای فلزی کابل (Metal Cable Clamps) به Grommet Retainer متصل کنید تا تسکین فشار (Strain Relief) فراهم شود.

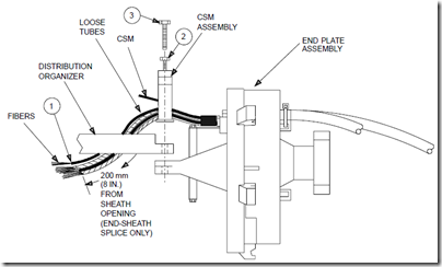
۵.۳ آمادهسازی واحد فیبر و نصب توزیعکننده (Distribution Organizer)
۱. فقط برای End-Sheath Splice: تمامی لوس تیوبها (Loose Tubes) را تا ۲۰۰ میلیمتر (۸ اینچ) از محل باز شدن روکش (Sheath Opening) جدا کرده و تمام فیبرها را تمیز کنید. فیبرها را مطابق روش محلی شناسایی کنید. اگر این Mid-Sheath Splice است، در این مرحله هیچ لوس تیوبی را جدا نکنید.
۲. در حالی که صفحه انتهایی و کابلها هنوز به صورت وارونه (Upside Down) قرار دارند، لوس تیوبهای هر کابل را به دو گروه تقریبا مساوی تقسیم کنید. پیچهای نگهدارنده Central Strength Member (CSM) را شل کنید اما جدا نکنید. مجموعه CSM را روی Central Strength Members کابلها قرار دهید. پایههای عمودی CSM را بین دو گروه لوس تیوبها قرار دهید، اما هنوز پیچهای نگهدارنده را محکم نکنید.
۳. Distribution Organizer را به صورت وارونه قرار داده و روی لوس تیوبها قرار دهید تا آنها در شکافهای ورودی (Entrance Slots) گیر کنند. توزیعکننده را بین مجموعه CSM و Backbone صفحه انتهایی قرار دهید. سوراخهای قطعات را تراز کرده و با سه پیچ ششگوش (Hex Head Bolts) مونتاژ کنید.
۴. سه پیچ ششگوش و دو پیچ نگهدارنده CSM را محکم کنید.
۵. مجموعه پوشش (Closure Assembly) را به حالت عادی (Right Side Up) برگردانید. با استفاده از کابل تایهای کوچک (Small Cable Ties) که تأمین شده، لوس تیوبها را در دو نقطه به توزیعکننده محکم کنید. از دو شکاف بیرونی کابل تای (Outside Two Cable Tie Slots) برای نگه داشتن لوس تیوبها در قسمت بیرونی توزیعکننده استفاده کنید.
۶. فیبرهای هر کابل را یک دور دور توزیعکننده بپیچید و سپس از پشت سینی خارج کنید. فیبرهای یک کابل باید در یک جهت و فیبرهای کابل دوم در جهت مخالف پیچیده شوند.
۷. اگر این Mid-Sheath Splice است، لوس تیوبهایی که حاوی فیبرهای مورد نظر برای اتصال هستند را پیدا کرده و با دقت کنار بزنید.
۸. تمام لوس تیوبهای باقیمانده را دور توزیعکننده بپیچید و با چند کابل تای (Cable Ties) محکم کنید. دستهبندی لوس تیوبها و تعداد کابل تایها را طوری تنظیم کنید که کمترین مقطع عرضی (Minimum Cross-Section) لوس تیوبها حاصل شود.
۹. فقط برای Mid-Sheath Splice: لوس تیوبهایی که حاوی فیبرهای مورد نظر برای اتصال هستند را در وسط برش دهید. لوس تیوبها را تا ۲۷۰ میلیمتر (۱۰-۱/۲ اینچ) از انتهای روکش جدا کنید. فیبرها را تمیز کرده و مطابق روش محلی شناسایی کنید.
۱۰. لوس تیوبهایی که حاوی فیبرهای مورد نظر برای اتصال هستند را صاف کنید و به دسته لوس تیوبها محکم کنید تا فیبرها از پشت Distribution Organizer خارج شوند.



۵.۴ نصب سینی اسپلیت (Splice Tray)
۱. Splice Tray را روی Distribution Organizer قرار دهید، به طوری که دو شکاف کوچک جلویی آن زیر قلابهای توزیعکننده گیر کنند. فیبرها را از شکافهای عقب سینی اسپلیت عبور دهید.
۲. انتهای سینی اسپلیت را با Snap کردن قطعات به هم به توزیعکننده محکم کنید.
۳. اگر این یک End-Sheath Splice است، فیبرها آماده اتصال (Splice) هستند! به بخش ۶ ادامه دهید. اگر این یک Branch Splice است، به زیر بخش B بروید.

B. کابلهای شاخهای (Branch Cables) – Loose Tube و Slotted Core
۵.۵ نصب کابلها، گرامت و اتصال زمین خارجی
۱. کابل شاخهای را در پورت بالایی (Upper Port) صفحه انتهایی نصب کنید و از روش مشابه مراحل ۵.۱ و ۵.۲ استفاده کنید (به جز مرحله ۵.۲ بند ۵). Distribution Organizer را جدا نکنید.
۲. از گرامت کابل مناسب برای اندازه کابل استفاده کنید. اگر فقط یک کابل شاخهای نصب میشود، پورت خالی را با پلاگین گرامت مشکی (Black Grommet Plug) مسدود کنید.

B. کابلهای شاخهای (Branch Cables) – Loose Tube و Slotted Core
۵.۵ نصب کابلها، گرامت و اتصال زمین خارجی
۱. کابل شاخهای را در پورت بالایی (Upper Port) صفحه انتهایی نصب کنید و از روش مشابه مراحل ۵.۱ و ۵.۲ استفاده کنید (به جز مرحله ۵.۲ بند ۵). Distribution Organizer را جدا نکنید.
۲. از گرامت کابل مناسب برای اندازه کابل استفاده کنید. اگر فقط یک کابل شاخهای نصب میشود، پورت خالی را با پلاگین گرامت مشکی (Black Grommet Plug) مسدود کنید.
۵.۶ آمادهسازی واحد فیبر (Fiber Unit Preparation)
۱. در صورت وجود، Splice Tray را بردارید.
۲. لوس تیوبها (Loose Tubes) را تا ۲۰۰ میلیمتر (۸ اینچ) از محل باز شدن روکش (Sheath Opening) جدا کنید. مواد پرکننده اضافی کابل (Cable Filling Compound) را حذف کرده و تمام فیبرها را تمیز کنید. فیبرها را مطابق روش محلی شناسایی کنید.
۳. لوس تیوبها را صاف کنید و با کابل تایها (Cable Ties) آنها را به دسته لوس تیوبهای کابل اصلی محکم کنید تا فیبرها از پشت Distribution Organizer خارج شوند.
۴. Splice Tray را روی Distribution Organizer قرار دهید، به طوری که لوس تیوبهای کابل شاخهای در شکافهای ورودی توزیعکننده (Distribution Organizer Entrance Slots) گیر کنند.
فیبرها اکنون آماده اتصال (Splice) هستند! به بخش ۶ ادامه دهید.

C. کابلهای اصلی – Central Tube OSP
۵.۷ نصب کابلها روی صفحه انتهایی (End Plate)
کابلها را به Sheath Grip متصل کرده و طبق جزئیات مرحله ۵.۱ در End Plate نصب کنید.
۵.۸ نصب گرامت و اتصال زمین خارجی (Grommet Installation and External Grounding)
۱. گرامتها (Grommet(s)) را طبق دستور مرحله ۵.۲ نصب کنید.
۲. اگر اتصال زمین خارجی (External Grounding) مورد نیاز است، ۴۰ میلیمتر (۱-۱/۲ اینچ) از عایق سیم ۴ میلیمتری (شماره ۶) مسی مشتری را جدا کنید. انتهای سیم لخت شده را با مقدار کمی B-Sealant پوشانده و از بیرون از طریق سوراخ سیم زمین در گرامت کنار کابل وارد کنید. (رجوع کنید به مرحله ۵.۲، بند ۶)
۳. پیچ تنظیم (Set Screw) بلوک اتصال (Bonding Block) را شل کرده و سیم زمین را داخل بلوک قرار دهید. پیچ تنظیم را محکم کنید تا سیم زمین در بلوک ثابت شود.
۴. Grommet Retainer را روی End Plate قرار داده و با پیچ دستگیره (Knob) محکم کنید.
۵. کابلها را با استفاده از گیرههای فلزی کابل (Metal Cable Clamps) به Grommet Retainer متصل کنید تا تسکین فشار (Strain Relief) فراهم شود (رجوع کنید به مرحله ۵.۲، بند ۹).

۵.۹ آمادهسازی واحد فیبر و نصب Distribution Organizer
۱. قطر لوله پلاستیکی انعطافپذیر (Flexible Tubing) مناسب را برای Core Tube انتخاب کنید. طول ۱۰۰ میلیمتر (۴ اینچ) از لوله پلاستیکی انعطافپذیر را روی فیبرها قرار دهید (اگر این یک Mid-Sheath Entry است، لوله را شیار دهید و با کابل تایهای کوچک محکم کنید). مقدار کمی B-Sealant داخل Core Tube تزریق کرده و لوله را حدود ۱۵ میلیمتر (۵/۸ اینچ) روی Core Tube قرار دهید.
۲. با چرخاندن End Plate Assembly به حالت برعکس (Upside Down)، Distribution Organizer را هم برعکس کرده و آن را روی لولههای پلاستیکی انعطافپذیر قرار دهید تا در شکافهای ورودی سینی (Tray Entrance Slots) گیر کنند. سینی را طوری موقعیت دهید که سه سوراخ آن با سه سوراخ رزوهدار در Backbone End Plate همتراز شوند.
۳. با استفاده از سه پیچ ششگوش (Hex Head Bolts) سینی را به End Plate Backbone متصل کنید. سپس مجموعه را به حالت درست (Right Side Up) برگردانید. با استفاده از کابل تایهای کوچک لولههای انعطافپذیر را به Distribution Organizer محکم کنید.
۴. اگر این یک End Sheath Splice است، فیبرهای هر کابل را یک دور به دور Distribution Organizer حلقه کنید و سپس از پشت سینی خارج کنید. یک کابل باید در یک جهت حلقه زده شود و کابل دوم در جهت مخالف.
۵. اگر این یک Mid-Sheath Splice است، فیبرهایی که قرار است اتصال داده شوند (Splice) را شناسایی کرده و به آرامی کنار بگذارید. تمام فیبرهای دیگر را دور Distribution Organizer حلقه کرده و فیبرهای مورد اتصال را در وسط برش دهید و از پشت سینی عبور دهید.

۵.۱۰ نصب Splice Tray
۱. Splice Tray را روی Distribution Organizer قرار دهید و دو شکاف کوچک جلو (Front Slots) آن را زیر قلابهای Distribution Organizer جا بزنید. فیبرها را از شکافهای عقب Splice Tray عبور دهید، همانطور که در مرحله ۵.۴ نشان داده شد.
۲. انتهای عقب Splice Tray را به Distribution Organizer با فشار دادن و قفل کردن قطعات محکم کنید.
۳. پایه نگهدارنده سینی (Tray Support) را به انتهای عقب Distribution Organizer وصل کنید.
اگر این یک End-Sheath Splice است، فیبرها اکنون آماده اتصال (Splice) هستند! به بخش ۶ ادامه دهید.
اگر این یک Branch Splice است، به Subpart D ادامه دهید.
D. کابلهای شاخهای (Branch Cables) – Central Tube OSP
۵.۱۱ نصب کابلها روی End Plate
کابلها را طبق دستورالعمل مرحله ۵.۱ نصب کنید.
۵.۱۲ نصب گرامت و اتصال زمین خارجی (Grommet Installation and External Grounding)
دستورالعمل نصب گرامت را طبق مرحله ۵.۵ و روشهای اتصال زمین خارجی (در صورت نیاز) را طبق مرحله ۵.۸ دنبال کنید.
۵.۱۳ آمادهسازی واحد فیبر (Fiber Unit Preparation)
۱. در صورت وجود، Splice Tray را بردارید.
۲. قطر مناسب لوله پلاستیکی انعطافپذیر (Flexible Plastic Tubing) را برای Core Tube انتخاب کنید. یک قطعه ۱۰۰ میلیمتر (۴ اینچ) از لوله پلاستیکی انعطافپذیر را روی فیبرها قرار دهید. مقدار کمی B-Sealant داخل Core Tube تزریق کرده و لوله را حدود ۱۵ میلیمتر (۵/۸ اینچ) روی Core Tube قرار دهید. فیبرها را دور Distribution Organizer حلقه نزنید؛ فقط فیبرها را از انتهای Distribution Organizer عبور دهید.
۳. Splice Tray را روی Distribution Organizer قرار دهید به طوری که فیبرهای پوشیده با لوله پلاستیکی انعطافپذیر در شکافهای ورودی Distribution Organizer گیر کنند. فیبرها اکنون آماده اتصال (Splice) هستند!

۶. اتصال فیبر نوری (Optical Fiber Splicing)
۶.۱ دستورالعمل عمومی
۱. اگر از Fusion Splicing استفاده نمیشود، به Splice Holder یا Connector Holder متفاوتی نیاز خواهد بود. برای اطلاعات سفارش، به بخش ۱۰ مراجعه کنید.
۲. آمادهسازی پوشش کابل (Sheath Preparation)، نصب Sheath Grip، اتصال زمین و باندینگ (Bonding and Grounding)، و مونتاژ Distribution Organizer و Splice Tray در بخشهای ۳ تا ۵ توضیح داده شده است، بسته به نوع کابل (Central Tube, Loose Tube, یا Slotted Core) و نوع اتصال (End Sheath یا Mid-Sheath).
۳. توجه داشته باشید که طول فیبر اضافی (Slack Fiber) برای کابل Central Office (CO) و کابل میدانی متفاوت است، زیرا فاصله از Splice Tray Exit Slots تا Splice Holder متفاوت است. درپوش Splice Holder را باز کرده و خارج کنید و همه Splice Holderها به جز یکی را بردارید. فیبر اضافی را یک دور به دور سینی (Tray) حلقه کنید و طول فیبر تا دورترین محل اتصال Splice Holder را تعیین کنید. این طول، حداکثر طول فیبر برای این کابل خواهد بود. همین روش را برای کابل دوم نیز تکرار کنید. سپس Splice Holder را بردارید.
۶.۲ نگهداری اسپلیس و فیبر اضافی (Splice and Slack Fiber Storage)
۱. یک Splice Holder را جلوی محفظه یا کنار آن قرار دهید، به گونهای که فضای کافی برای Fusion Splicing Equipment وجود داشته باشد. فیبرها را طبق روشهای محلی Splice کنید. هر اسپلیس کامل شده را در محل مناسب Splice Holder قرار دهید.
۲. زمانی که Splice Holder پر شد (حداکثر ۱۲ اسپلیس)، آن را در T-Rail Slots در Splice Tray قرار دهید. برای نگهداری فیبر اضافی (Slack Fiber)، Splice Holder را کمی خم کرده و حلقه فیبر اضافی را زیر Splice Holder قرار دهید.
۳. این روند را تکرار کنید تا تمام فیبرها اسپلیس شده، در Splice Holderها قرار گرفته و حلقههای فیبر اضافی زیر Stack Splice Holder نگهداری شوند. تمام چهار Splice Holder باید در Splice Tray نصب شوند، حتی اگر برخی از آنها اسپلیس نداشته باشند.
۴. درپوش Splice Holder (Splice Holder Lid) را روی بالاترین Splice Holder محکم کنید، با کمی خم کردن برای جا افتادن دو پین لولا (Hinge Pins) آن.
۵. با یک دست، Stack Splice Holder را نگه داشته و Tabs درپوش را فشار دهید تا در جای خود روی بالاترین Splice Holder قفل شوند.
۶. هنوز Stack Splice Holder را نگه داشته و Lid Catch را روی Splice Tray بچسبانید. مطمئن شوید هیچ فیبری در منطقه باز شدن مربعی شکل (Square Opening) قرار ندارد.

۷. نصب پوشش Fiber Optic Splice Closure
۱. شیارهای O-Ring در پوشش و End Plate را تمیز کنید. یک لایه نازک از B-Sealant را بهطور یکنواخت در هر دو شیار O-Ring اعمال کنید. O-Ring را در شیار End Plate قرار دهید.
۲. Closure Assembly را داخل پوشش قرار دهید. پوشش را بچرخانید تا Key آن با Notch End Plate تراز شود. پوشش را جا بزنید و پنج Latch را محکم کنید.
۳. تست فشار اختیاری (Optional Flash Test):
اگر تست فشار انجام میشود، Plug انتهای پوشش را بردارید و یک Pressure Fitting مناسب نصب کنید.
فشار تست نباید از ۷۰ kPa (۱۰ psi) بیشتر شود.
پوشش را طبق روشهای محلی برای نشتی بررسی کنید.
Pressure Fitting را بردارید و دوباره Cover Plug را با استفاده از Thread Sealant مناسب نصب کنید.
از Hex Tool برای محکم کردن Cover Plug استفاده کنید، اما بیش از حد محکم نکنید.

۸. نصب Fiber Optic Splice Closure (Closure Mounting)
این Fiber Optic Splice Closure برای استفاده در محیطهای هوایی (Aerial)، دفن شده (Buried) یا زیرزمینی (Underground/Manhole) طراحی شده است. کیتهای مختلفی برای نصب این پوشش موجود هستند که دستورالعمل استفاده از هر کیت در پاراگرافهای بعدی آمده است.
نکته: قبل از انجام هرگونه عملیات نصب، Closure باید بهطور کامل مونتاژ شده باشد.
الف. کیت نصب براکت (Mounting Bracket Kit)
۱. براکت را با استفاده از Keyhole Slots به دیوار یا پایه نصب کنید. Bolts/Screws برای این مرحله تأمین نمیشوند. اگر براکت بهصورت عمودی نصب میشود، مطمئن شوید Arrow روی براکت به سمت بالا باشد.
۲. از Bolts تأمین شده برای محکم کردن براکت به Closure Mounting Lugs استفاده کنید.

ب. کیت نصب روی کابل (Strand Hanger Kit)
۱. Bolts روی Finger Clamps را شل کرده و آنها را روی Cable Strand نصب کنید. در این مرحله تنگ نکنید.
۲. با استفاده از Bolts تأمین شده، Clamps را به Mounting Lugs روی Closure محکم کنید.
۳. تمام Bolts را محکم کنید.
۴. کابل را طبق روشهای محلی به Cable Strand هدایت و مهار کنید (Dress and Lash).

۹. دسترسی مجدد به Fiber Optic Splice Closure (Reentry)
۱. سطح Closure را تمیز کرده و گرد و غبار و ذرات زائد را از بین ببرید.
۲. Closure را به گونهای قرار دهید که هنگام برداشتن درپوش، ذرات باقیمانده وارد Splice Tray نشود.
۳. Five Latches را باز کنید و با دقت Closure Cover را از جای خود خارج کنید.
۴. O-ring را جدا کرده و برای تمیز کردن قبل از مونتاژ مجدد کنار بگذارید.
۵. عملیات مورد نیاز را انجام دهید.
۶. B-Sealant را از شیار O-ring در درپوش، شیار O-ring در End Plate و خود O-ring تمیز کنید.
۷. Closure را مطابق دستورالعمل بخش ۷ دوباره مونتاژ کنید.
نکات و راهکارهای نگهداری شبکههای فیبر نوری برای عملکرد بهینه
شبکههای فیبر نوری ستون فقرات ارتباطات مدرن هستند و قابلیت انتقال داده با سرعت بالا را فراهم میکنند که برای کسبوکارها، مخابرات و خدمات اینترنتی ضروری است. برای تضمین عملکرد بهینه و طول عمر این شبکهها، نگهداری منظم بسیار حیاتی است. در ادامه، چند نکته مهم برای نگهداری شبکههای فیبر نوری ارائه میشود:
۱. بررسی اجزای فیزیکی شبکه
بررسی منظم اجزای فیزیکی شبکههای فیبر نوری برای شناسایی هرگونه نشانههای فرسودگی، آسیب یا آلودگی ضروری است. کانکتورها، کابلها و اسپلیسها را از نظر خش، ترک یا تجمع گرد و غبار بررسی کنید، زیرا این موارد میتوانند کیفیت سیگنال را کاهش دهند. از ابزارهای تخصصی مانند میکروسکوپهای بررسی فیبر نوری برای مشاهده دقیق کانکتورها استفاده کنید تا اطمینان حاصل شود که کانکتورها تمیز و بدون آسیب هستند.
۲. تمیزکاری کانکتورهای فیبر نوری
تمیز کردن صحیح کانکتورهای فیبر نوری برای حفظ عملکرد بهینه بسیار حیاتی است. حتی مقادیر کم گرد و غبار یا آلودگی میتوانند تأثیر قابل توجهی بر انتقال سیگنال داشته باشند. از دستمالهای بدون پرز و محلولهای تمیزکننده تأیید شده برای پاک کردن ملایم کانکتورها و پورتهای آداپتور استفاده کنید. از استفاده از هوای فشرده خودداری کنید، زیرا ممکن است آلودگیها را به عمق کانکتورها منتقل کند.
۳. روشهای جابجایی و نگهداری
جابجایی با دقت و نگهداری صحیح کابلها و اجزای فیبر نوری میتواند از آسیبهای فیزیکی جلوگیری کرده و طول عمر آنها را افزایش دهد. همیشه کابلهای فیبر نوری را با احتیاط جابجا کنید و از خم شدن شدید یا کشیدن بیش از حد که میتواند به فیبرها فشار وارد کند، خودداری کنید. کابلها را در محیطی تمیز و خشک، دور از گرد و غبار، رطوبت و نور مستقیم خورشید نگهداری کنید تا از کاهش کیفیت جلوگیری شود.
۴. نظارت بر شرایط محیطی
حفظ شرایط محیطی پایدار برای عملکرد بهینه شبکههای فیبر نوری ضروری است. اطمینان حاصل کنید که دمای محیط و رطوبت در محدودههای توصیه شده قرار دارند تا از تجمع رطوبت یا میعان جلوگیری شود، زیرا این موارد میتوانند به فیبرها و کانکتورها آسیب برسانند. سیستمهای نظارت محیطی نصب کنید تا شرایط را ردیابی کرده و تیمهای نگهداری را در صورت هرگونه انحراف مطلع کنند.
۵. روشهای تست و بازرسی
تست و بازرسی منظم شبکههای فیبر نوری به شناسایی مشکلات احتمالی قبل از تأثیر بر عملکرد کمک میکند. تستهای OTDR (Optical Time Domain Reflectometer) را بهطور دورهای انجام دهید تا افت سیگنال را اندازهگیری کرده و هر گونه ناهنجاری در طول کابل فیبر نوری شناسایی شود. همچنین تست افت سیگنال (Insertion Loss Testing) انجام دهید تا یکپارچگی کانکتورها و اسپلیسها تأیید شود.
۶. اجرای برنامههای نگهداری پیشگیرانه
تدوین و رعایت یک برنامه نگهداری پیشگیرانه برای مدیریت فعال و پیشبینی شده شبکه ضروری است. یک چکلیست کامل شامل تمیزکاری، بازرسی، تست و مستندسازی ایجاد کنید تا نگهداری بهطور کامل انجام شود. وظایف نگهداری دورهای را بر اساس میزان استفاده شبکه، شرایط محیطی و توصیههای تولیدکننده برنامهریزی کنید.
۷. آموزش و توانمندسازی پرسنل نگهداری
سرمایهگذاری در آموزش و توانمندسازی پرسنل نگهداری که مسئول شبکههای فیبر نوری هستند، بسیار مهم است. اطمینان حاصل کنید که پرسنل با تکنیکهای صحیح جابجایی، روشهای تمیزکاری، روشهای تست و پروتکلهای ایمنی آشنا هستند. همچنین بهروز بودن در بهترین روشهای صنعتی و تکنولوژیهای نوظهور باعث بهبود مستمر فرآیندهای نگهداری میشود.
۸. مستندسازی فعالیتهای نگهداری
نگهداری سوابق دقیق از فعالیتهای نگهداری برای ردیابی عملکرد شبکه، شناسایی مشکلات تکراری و اطمینان از رعایت برنامههای نگهداری ضروری است. نتایج بازرسی، گزارشهای تست، تاریخهای تمیزکاری و هر فعالیت نگهداری انجام شده را مستندسازی کنید. از این اطلاعات برای تحلیل روندها و اتخاذ تصمیمات آگاهانه درباره ارتقا یا تعمیر شبکه استفاده کنید.
۹. برنامهریزی واکنش اضطراری
یک برنامه واکنش اضطراری تدوین کنید که روشهای پاسخ به خرابی شبکه، شکست فیبر یا سایر حوادث بحرانی را مشخص کند. پروتکلهای ارتباطی با ذینفعان شامل ارائهدهندگان خدمات و مشتریان را ایجاد کنید تا زمان توقف شبکه کاهش یافته و اختلالات احتمالی خدمات به حداقل برسد.
۱۰. همکاری با ارائهدهندگان خدمات
روابط همکاری با ارائهدهندگان خدمات فیبر نوری و تولیدکنندگان تجهیزات برقرار کنید. از تخصص و پشتیبانی آنها برای رفع مشکلات پیچیده، انجام وظایف نگهداری تخصصی و دسترسی به ابزارهای تشخیصی پیشرفته بهره ببرید.
جمعبندی و توصیههای نهایی برای نگهداری شبکههای فیبر نوری
نگهداری صحیح شبکههای فیبر نوری برای حفظ عملکرد بهینه، کاهش افت سیگنال و افزایش طول عمر تجهیزات بسیار حیاتی است. با اجرای برنامههای نگهداری پیشگیرانه، بررسی و تمیزکاری منظم کانکتورها و کابلها، نظارت بر شرایط محیطی و آموزش پرسنل نگهداری میتوان از بروز مشکلات احتمالی جلوگیری کرد.
همچنین، مستندسازی دقیق فعالیتهای نگهداری و اجرای تستهای دورهای به شناسایی سریع مشکلات و تصمیمگیریهای آگاهانه درباره ارتقا یا تعمیر شبکه کمک میکند. رعایت بهترین روشها و استانداردهای صنعتی تضمین میکند که شبکههای فیبر نوری همیشه عملکرد پایدار و قابل اعتمادی ارائه دهند و از سرمایهگذاری در تجهیزات حداکثر بهرهوری حاصل شود.
مقایسه Fusion Splicer و Mechanical splice | تفاوتها، هزینه و عملکرد
وقتی صحبت از اتصال دو تار فیبر نوری میشود، دو روش برای اتصال وجود دارد. یکی اسپلایس فیوژن (Fusion Splicing) یا اتصال جوشی و دیگری اسپلایس مکانیکی (Mechanical Splicing) یا اتصال مکانیکی.
اگر بهتازگی شروع به کار با فیبر کردهاید، بهتر است اهداف بلندمدت خود را در این حوزه در نظر بگیرید تا مشخص شود کدام تکنیک بیشتر با اهداف اقتصادی و عملکردی شما سازگار است. این راهنما به بررسی این دو روش میپردازد و در پایان یک مقایسه میان آنها انجام میدهد.
تعریف اسپلایس فیوژن و مکانیکی
هر دو روش اتصال فیوژن و مکانیکی در اصل یک کار را انجام میدهند—آنها دو فیبر نوری را به هم متصل کرده و در همان وضعیت نگه میدارند تا سیگنال نوری بتواند از محل اتصال عبور کند.
اتصال فیوژن
اتصال فیوژن، اتصال دو یا چند فیبر نوری است که با یکدیگر ذوب شدهاند. این کار با استفاده از دستگاهی به نام Fusion Splicer انجام میشود که دو عملکرد اصلی دارد: تراز کردن فیبرها و ذوب کردن آنها، معمولاً با استفاده از یک قوس الکتریکی.
اتصال مکانیکی
اتصال مکانیکی در واقع یک ابزار ترازکننده است و دو فیبر را بهطور دائم به هم متصل نمیکند. این ابزار برای نگهداشتن دو انتهای فیبر در موقعیتی کاملاً تراز طراحی شده است تا نور بتواند از یک فیبر وارد فیبر دیگر شود.
فرآیند اتصال فیوژن و مکانیکی
چهار مرحلهی اصلی در اتصال فیوژن و مکانیکی وجود دارد. برای هر دو روش، دو مرحلهی اول تقریباً یکسان هستند و تنها در دو مرحلهی پایانی تفاوتهایی وجود دارد.
مراحل اسپلایس فیوژن
مرحله 1: آمادهسازی فیبر
فیبرها با برداشتن تمامی پوششهای حفاظتی از جمله Cladding،Jacket و Sheath آماده میشوند. هنگامی که تنها شیشهی خام باقی ماند، فیبرها باید با دقت تمیز شوند – در اینجا، تمیزی برابر با کیفیت بالا است.
مرحله 2: برش
برش یا Cleaving به معنای قطع کردن نیست. همانطور که از نامش پیداست، این کار شامل ایجاد یک خط خراش (Scoring) بر روی فیبر با استفاده از دستگاه Cleaver و سپس کشیدن یا خم کردن آن تا زمانی است که شکسته شود. انتهای شکستهشده باید کاملاً صاف، آینهای و عمود بر محور فیبر باشد تا یک اسپلایس مناسب حاصل شود.

مرحله ۳: فیوژن فیبرها
فیوژن شامل دو مرحله است: تراز کردن (Aligning) و گرم کردن (Heating).
تراز کردن میتواند ثابت یا سهبعدی، دستی یا خودکار باشد و معمولاً با کمک ابزاری انجام میشود که تصویر انتهای فیبرها را بزرگنمایی یا بهبود میدهد تا بتوان آنها را بهدرستی در موقعیت قرار داد. ابزارهای بزرگنمایی رایج عبارتند از: دوربینهای ویدئویی، اسکوپهای مشاهده و پاورمترهای نوری.
تراز کردن فیبرها به معنای مطابقت دقیق دو انتهای فیبر است تا نور بتواند با حداقل میزان افت، بازتاب یا اعوجاج از یک فیبر وارد دیگری شود.
پس از آنکه فیبرها تراز شدند، آنها توسط ایجاد یک قوس الکتریکی با ولتاژ بالا که نوک فیبرها را ذوب میکند و سپس این نوکها به هم فشار داده یا نزدیک میشوند، به هم فیوژن، ذوب یا جوش داده میشوند.

مرحله ۴: محافظت از فیبر
محافظت از فیبر در برابر نیروهای خمشی و کششی باعث میشود اتصال در هنگام کاربری عادی نشکند.
یک اتصال فیوژن معمولی دارای استحکام کششی بین ۰٫۵ تا ۱٫۵ پوند است و در شرایط عادی نمیشکند.
با این حال همچنان نیاز به محافظت در برابر خمشدگی و کشش بیش از حد دارد.
استفاده از تیوبهای حرارتی جمعشونده (Heat Shrink Tubing)، ژل سیلیکونی و/یا محافظهای مکانیکی کرمپ (Mechanical Crimp Protectors) باعث میشود اتصال از عوامل خارجی و شکستگی محافظت شود.

مراحل اسپلایس مکانیکی
همانطور که پیشتر گفته شد، تفاوت بین اتصال فیوژن و مکانیکال در دو مرحله پایانی است. بنابراین، مرحله ۳ و ۴ برای اسپلایس مکانیکی به شرح زیر است:
مرحله ۱ و ۲
این مراحل مشابه فرآیند فیوژن اسپلایس هستند.
مرحله ۳: اتصال مکانیکی فیبرها
در این روش هیچ حرارتی استفاده نمیشود. تنها کافی است انتهای فیبرها را درون واحد اسپلایس مکانیکی در کنار هم قرار دهید.
ژل همسانساز ضریب شکست (Index Matching Gel) داخل دستگاه اسپلایس مکانیکی به انتقال نور از انتهای یک فیبر به فیبر دیگر کمک میکند.
در دستگاههای قدیمیتر، به جای ژل همسانساز، از اپوکسی (Epoxy) برای نگه داشتن هستههای فیبر در کنار هم استفاده میشد.
مرحله ۴: محافظت از فیبر
اتصال مکانیکی تکمیلشده، محافظت لازم از اتصال را به صورت ذاتی فراهم میکند.
مقایسه فیوژن اسپلایس و مکانیکال اسپلایس: کدام را انتخاب کنیم؟
دلیل اصلی برای انتخاب یکی از این دو روش معمولاً بر پایه هزینه و عملکرد است.
هزینه
اتصال فیوژن: به دلیل نیاز به خرید دستگاه فیوژن اسپلایسر، هزینه اولیه بالاتری دارد. اما هزینه متغیر هر اسپلایس فیوژن پایینتر است: حدود ۰.۵۰ تا ۱.۵۰ دلار به ازای هر اتصال.
اتصال مکانیکال: نیاز به هزینه قابل توجه اولیه در ابزار ندارد، اما هزینه متغیر آن بالاتر است: حدود ۱۰ تا ۳۰ دلار به ازای هر اتصال. بنابراین هرچه تعداد اتصالات بیشتر شود، این روش به دلیل هزینه متغیر بالا کمصرفهتر خواهد بود.
عملکرد
اتصال مکانیکال: تلفات (Insertion Loss – IL) در این روش معمولاً بیشتر است، بین ۰.۲ dB تا ۰.۷۵ dB. دلیل آن این است که دو فیبر تنها در کنار هم تراز میشوند و به صورت فیزیکی به هم متصل نمیشوند. (تلفات درج یعنی کاهش توان سیگنال ناشی از قرار دادن یک اتصال در فیبر نوری.)
اتصال فیوژن: تلفات قبلی را پایینتر و عملکرد بهتری ارائه میدهد، زیرا این روش اتصال پیوسته و یکپارچهای بین دو فیبر ایجاد میکند. تلفات معمول در فیوژن اسپلایس کمتر از ۰.۱ dB است و همین امر حفاظت بهتری در برابر شکست کابل و ضعف سیگنال فراهم میآورد.
مطلب مشابه: مقایسه کامل فیبر نوری شیشهای و پلاستیکی | انتخاب بهترین نوع فیبر نوری برای کاربردهای مختلف
نتیجهگیری
به طور کلی، مزایای اصلی اتصال فیوژن در تلفات کمتر و عملکرد بهتر بازتاب نهفته است. این موارد همان بخشهایی هستند که فیوژن بر اتصال مکانیکی برتری دارد. بسیاری از شرکتهای مخابراتی و CATV در شبکههای تکحالته (Single-mode) طولانیمدت خود روی فیوژن سرمایهگذاری میکنند، اما همچنان برای کابلکشیهای کوتاهتر و محلی از اتصال مکانیکی استفاده میشود. از آنجا که سیگنالهای ویدیوی آنالوگ برای دستیابی به عملکرد بهینه به حداقل بازتاب نیاز دارند، فیوژن برای این کاربرد نیز ترجیح داده میشود. در شبکه های LAN، انتخاب میان هر دو روش وجود دارد، زیرا در اغلب کاربردهای LAN، افت سیگنال و بازتاب اهمیت چندانی ندارند.
راهنمای کامل نصب و معرفی کابل فیبر نوری هوایی برای کاربردهای بیرونی
صحنهی کابلهای هوایی (Aerial Cables) که از تیرها آویزان هستند، در زندگی روزمرهی ما بسیار رایج است. برخلاف سایر کابلهای فیبر نوری معمولی، این نوع کابل نوری برای سازگاری با شرایط سخت فضای باز و نصبهای هوایی طراحی شده است. این مقاله یک معرفی کلی و راهنمای نصب کابل فیبر نوری هوایی در اختیار شما قرار میدهد.
معرفی و طبقهبندی کابل فیبر نوری هوایی
کابل فیبر نوری هوایی (Aerial Fiber Optic Cable) به نوعی کابل گفته میشود که برای نصب در شبکههای بیرونی (Outside Plant – OSP) بین تیرها طراحی و استفاده میشود و به کمک یک سیم مهار (Messenger Strand) با سیم نازکتری به آن متصل میشود.
به طور کلی، این کابلها معمولاً از روکشهای ضخیم و سنگین و اعضای تقویتی فلزی یا آرامیدی (Aramid Strength Members) ساخته میشوند. با بهکارگیری کابل فیبر نوری هوایی، عملیات نصب این امکان را برای تکنسینها فراهم میکند که زیرساخت موجود تیرها را بدون نیاز به حفاری خیابانها برای دفن کابل یا داکتها دوباره استفاده کنند و همچنین به میزان قابل توجهی در کاهش هزینههای سرمایهای (CAPEX) برای ارائهدهندگان شبکه مؤثر باشد.

بر اساس روشهای نصب، کابلهای فیبر نوری هوایی بهطور کلی به دو نوع تقسیم میشوند: سیمی (Catenary Wire) و خودنگهدار (Self-Supporting).
نوع اول، یک نوع کابل شلتیوب (Loose-Tube) معمولی فضای باز است که میتواند به صورت مارپیچی به یک سیم مهار (Messenger) یا کابل دیگر بسته شود (رایج در CATV).
نوع دوم به اندازهای مقاوم و محکم است که میتواند بدون استفاده از عناصر فلزی رسانا، بین سازهها از خود پشتیبانی کند. این نوع کابلها به دو دسته تقسیم میشوند:
کابل ADSS (All-Dielectric Self-Supporting)
کابل فیگور ۸ (Figure 8 Cable)
کابلهای هوایی فیگور ۸ رایجترین نوع کابلهای فیبر نوری هوایی هستند و خود به سه مدل اصلی تقسیم میشوند:
GYTC8S
GYXTC8Y
GYXTC8S
راهنمای نصب کابل فیبر نوری هوایی

نصب کابل فیبر نوری هوایی فرآیندی پیچیده و زمانبر است، زیرا پیش از آغاز کار باید هم عوامل طبیعی (مانند باد، باران، نور خورشید و شرایط محیطی) و هم آسیبهای انسانی (مانند احتمال تخریب یا دستکاری) در نظر گرفته شوند.
با این وجود، روش نصب کابل فیبر نوری هوایی در بیشتر مدلها تقریباً مشابه است و تنها جزئیات فنی و ابزار مورد استفاده میتواند متفاوت باشد.
آمادهسازیهای پیش از ساخت
قبل از شروع نصب، موارد آمادهسازی زیر باید انجام شوند تا اطمینان حاصل شود که کل فرآیند نصب بهخوبی پیش برود.
بررسی اولیه (Pre-survey) — برنامهریزی مسیر کابل، که روش نصب کابل هوایی مورد استفاده را تعیین خواهد کرد، همچنین الزامات تجهیزات و مواد را مشخص میکند.
مسائل مربوط به نصب (Installation Issues) — بررسی شرایط زمین در طول مسیر، از جمله مشکلات مربوط به فاصله بر فراز جادهها، ورودیها، درختان یا سایر موانع.
محلهای اتصال (Splice Locations) — انتخاب محلهای اتصال امکان بررسی طراحی انتقال را فراهم میکند و آمادهسازی برای طول کابلهای مورد نیاز را ممکن میسازد، و اطمینان حاصل میشود که محلها در مکانهایی با دسترسی سخت یا خطرناک قرار نگیرند.
مراحل نصب کابل فیبر نوری هوایی
دو روش معمول برای نصب کابل فیبر نوری هوایی وجود دارد — روش قرقره متحرک و روش قرقره ثابت. در ادامه مراحل پایه برای این دو روش نصب آمده است.
نصب کابل فیبر نوری هوایی با روش قرقره متحرک
روش قرقره متحرک (Moving Reel Method) معمولاً زمانی استفاده میشود که تریلر قرقره کابل یا کامیون بالابر هوایی بتواند در طول مسیر تیرها حرکت کند و هیچ مانعی برای بلند کردن کابل وجود نداشته باشد. این روش یک عملیات یکبار عبور (one-pass operation) است و نیازی به استفاده از بلوک کابل یا سیم کشی کمکی ندارد، که زمان کل نصب را کاهش میدهد. با این حال، این روش معمولاً برای کل طول کابل استفاده نمیشود و در نهایت نصب با قرقره ثابت نیز ضروری است.
مراحل نصب با روش قرقره متحرک:
مرحله ۱: قرقره کابل باید روی حامل قرقره (Reel Carrier) روی تریلر کابل یا کامیون خط هوایی نصب شود. سپس حامل قرقره در طول مسیر کابل حرکت داده میشود.
مرحله ۲: با پیشروی در طول مسیر، کابل باید بدون کشش معکوس از روی قرقره باز شود، به تیر هدایت شده و با تجهیزات مناسب پشتیبانی شود.
مرحله ۳: بررسی کنید که فاصله بین کامیون خط هوایی یا تریلر کابل و موقعیت اولین تیر مناسب باشد و اطمینان حاصل کنید که کابل اضافی کافی برای وصل کردن و نگهداری کابل شل وجود دارد.
مرحله ۴: سپس نصاب باید پشتیبانی انتهای مرده مناسب (Dead-End Support) را روی کابل نصب کند، کابل را به سطح پشتیبانی صحیح بالا ببرد و پشتیبانی انتهای مرده را روی تیر نصب کند.
مرحله ۵: هنگام حرکت وسیله نقلیه نصب، باید در موازی و نزدیکترین حالت ممکن به خط تیرها حرکت کند و سرعت و کشش کابل بهصورت ثابت حفظ شود.
مرحله ۶: زمانی که کابل از تیر بعدی در مسیر فاصله کافی گرفته است، کابل باید به ارتفاع مورد نیاز تیر بالا برده شده و در قلاب J یا پشتیبانی موقت قرار گیرد.
مرحله ۷: نصب کابل بخش به بخش (span by span) ادامه مییابد تا کل مسیر تکمیل شود و به تیر انتهایی برای Dead-End برسد.
مرحله ۸: در این مرحله، کابل باید با استفاده از تجهیزات بالابر زنجیری مناسب در انتهای "آزاد" کابل به سطح کشش (Sag Level) صحیح تنیده شود قبل از آنکه کابل به تیر انتهایی متصل شود.
مرحله ۹: در نهایت، کابل میتواند از قلابهای J موقت یا پشتیبانیهای موقت جدا شده و با استفاده از تجهیزات Tangent Assembly بهصورت دائمی ثابت شود.
روش قرقره ثابت (Stationary Reel Method) معمولاً زمانی استفاده میشود که کابل بالای کابلهای جانبی موجود و سایر موانع نصب میگردد. نوع وسیله نقلیه و تجهیزات نصب در دسترس نیز تعیین میکند که آیا این روش مورد استفاده قرار گیرد یا خیر.
مراحل نصب با روش قرقره ثابت:
مرحله ۱: نصب یک سری پشتیبانی موقت کابل، شوتها یا بلوکهای تانژانت در هر تیر در طول مسیر.
مرحله ۲: سپس یک سیم کشش (Pull Line) از طریق پشتیبانیهای کابل عبور داده شده و با استفاده از Breakaway Swivel و Cable Pulling Grip به بیرون کابل متصل میشود. این سیم برای کشیدن کابل از طریق بلوکها به موقعیت نهایی استفاده میشود.
مرحله ۳: اگر کابل با وینچ (Winch) کشیده میشود، سیم کشش یا خط وینچ باید از طریق پشتیبانیهای کابل عبور داده شود. سپس باید از سیم یا طناب غیر فلزی برای کشیدن کابل استفاده شود.
مرحله ۴: هنگامی که تنش نصب از حداکثر بار مجاز کابل (MRCL) فراتر رفت، وینچ کششی باید طوری تنظیم شود که عملیات متوقف شود. در صورت عدم دسترسی به این نوع وینچ، باید از دینامومتر با هشدار صوتی یا نمایشگر بصری برای مانیتورینگ تنش نصب استفاده شود.
مرحله ۵: پس از کشیده شدن کابل به موقعیت نهایی، با در نظر گرفتن کابل اضافی برای دسترسی ساختمان یا اتصال (Splicing)، کابل باید تنیده شود تا سطح کشش صحیح (Sag Level) حاصل گردد. سپس کابل در هر تیر انتهایی (Dead-End) در طول مسیر خاتمه داده شود.

بازرسی پس از نصب
کار نصب کابل فیبر نوری هوایی پس از پایان نصب بهطور کامل تمام نمیشود. بازرسی پس از ساخت نیز برای موفقیتآمیز بودن نصب کابل اهمیت دارد. موارد زیر را بررسی کنید تا مطمئن شوید نصب شما موفقیتآمیز بوده است:
مواردی که باید بررسی شوند:
پیش از اتصال (Splicing)، کابل هوایی را بهطور کامل بررسی کنید و بهویژه به محل دقیق تمام نقاط اتصال توجه داشته باشید.
وجود کابلهای خمیده یا آسیبدیده (Kinked or Damaged Cable).
وجود یا عدم وجود حلقههای چکه (Drip Loops) نصب شده بهطور صحیح.
وجود یا عدم وجود ارت (Grounds) نصب شده بهطور صحیح.
در پایان ...
در مقایسه با کابل دفنی (Buried Cable) یا راهحل فیبر در داکت (Fiber In-Duct)، راهحل کابل فیبر نوری هوایی (Aerial Fiber Optic Cable) معمولاً سریعتر و کمهزینهتر است، بهخصوص برای فیبر ستون فقرات (Backbone Fiber).
این روش راهحل اقتصادی برای بسیاری از کاربران است که نصب کابل فیبر نوری هوایی را مدنظر دارند. پس از مطالعه راهنمای جامع نصب که پیشتر ارائه شد، نصب کابلهای فیبر نوری هوایی برای کاربردهای بیرونی کار پرخطری نخواهد بود.
راهنمای جامع طراحی و اجرای سیستم برچسبگذاری کابل در دیتاسنتر برای مدیریت بهینه کابلها
در شبکه پیچیده فناوری که دیتاسنترها را پشتیبانی میکند، مدیریت مؤثر کابلها اهمیت بالایی دارد. اغلب به دلیل تمرکز بر نکات فنی این موضوع نادیده گرفته میشود، اما شیوه برچسبگذاری کابل با طراحی مناسب یکی از اجزای حیاتی زیرساخت دیتاسنتر است.
برچسبگذاری کارآمد کابلها نه تنها رفع اشکال و نگهداری را سادهتر میکند، بلکه قابلیت اطمینان کلی سیستم را نیز افزایش میدهد. این مقاله به عناصر کلیدی طراحی یک سیستم مؤثر برچسبگذاری کابل در دیتاسنتر میپردازد.
اصول طراحی یک سیستم برچسبگذاری موثر کابل
در طراحی سیستم برچسبگذاری کابل برای دیتاسنتر، روش کار باید فراتر از صرفاً نامگذاری کابلها باشد.

یک استراتژی جامع موارد زیر را در نظر میگیرد:
پایداری (Sustainability)
کارایی (Efficiency)
شفافیت و وضوح (Clarity)
در ادامه، نکات کلیدی برای طراحی سیستم برچسبگذاری کابل دیتاسنتر ارائه میشود.
کاهش شلوغی کابلها
در یک دیتاسنتر، حجم بالای کابلها میتواند بهراحتی گیجکننده شود. با تجمیع و سازماندهی کابلها، نه تنها محیط فیزیکی بهبود مییابد، بلکه رفع اشکال و نگهداری نیز سادهتر میشود.
این کاهش شلوغی همچنین جریان هوا و کارایی سیستم خنککننده را بهبود میبخشد.
استفاده مجدد از برچسبهای موجود
قبل از صرف هزینه روی مواد برچسبگذاری جدید، بررسی کنید که آیا برچسبهای موجود قابل استفاده مجدد هستند یا خیر.
این کار نه تنها هزینهها را کاهش میدهد بلکه ضایعات را نیز کم میکند.
اطمینان حاصل کنید که برچسبها بهراحتی جدا میشوند بدون اینکه چسب یا اثر باقی بگذارند تا تغییرات یا ارتقاءهای آینده آسانتر انجام شود.
استفاده از چاپگر مناسب برای برچسب کابلها
انتخاب یک چاپگر با دوام
روی چاپگر برچسب با کیفیت بالا سرمایهگذاری کنید که بتواند تقاضاهای محیط دیتاسنتر را تحمل کند.
چاپگر باید قادر باشد برچسبهای واضح و بادوام تولید کند که با گذشت زمان رنگپریدگی یا جدا شدن نداشته باشند.
چاپگرهای ترمال ترنسفر (Thermal Transfer) اغلب به دلیل دوام و کیفیت چاپ بالا ترجیح داده میشوند.
در نظر گرفتن قابلیت حمل
یک چاپگر برچسب قابل حمل انتخاب کنید تا تکنسینها بتوانند برچسبها را در محل چاپ کنند.
این ویژگی مخصوصاً برای دیتاسنترهای بزرگ مفید است، جایی که ممکن است کابلها در هنگام نصب یا پیکربندی مجدد نیاز به برچسبگذاری داشته باشند.

برچسبهای کابل با کد رنگی
استانداردسازی رنگها
اجرای یک سیستم برچسبگذاری کابل با کد رنگی، شناسایی کابلها را بهطور چشمگیری ساده میکند.
برای انواع مختلف کابلها یا عملکردهای آنها، مانند برق، داده یا مدیریت، رنگهای خاصی را اختصاص دهید.
این نشانه بصری فرآیند رفع اشکال را سریعتر کرده و احتمال خطا هنگام نگهداری را کاهش میدهد.
مستندسازی کد رنگی
اطمینان حاصل کنید که کد رنگی بهخوبی مستند شده و برای تمام کارکنان مربوطه قابل دسترسی باشد.
این مستندسازی باید جامع باشد و هدف هر رنگ و هر استثنایی از استاندارد را بهطور کامل توضیح دهد.

اندازه برچسب و اطلاعات آن اهمیت دارد
انتخاب اندازه مناسب برچسب
اندازه برچسب باید به اندازه کافی بزرگ باشد تا اطلاعات ضروری را در خود جای دهد و در عین حال بیش از حد بزرگ نباشد.
محدودیتهای فضایی در دیتاسنتر و اندازه کابلها را در نظر بگیرید.
برچسبهای بسیار کوچک ممکن است خوانا نباشند، در حالی که برچسبهای بسیار بزرگ میتوانند به شلوغی بصری کمک کنند.
درج اطلاعات مرتبط
هر برچسب باید اطلاعات ضروری را منتقل کند، شامل:
هدف کابل
مقصد کابل
جزئیات فنی مرتبط
استفاده از یک فرمت استاندارد برای برچسبگذاری، یکنواختی را تضمین کرده و درک سریع توسط تکنسینها را تسهیل میکند.
برچسبگذاری در هر نقطه ممکن
برچسبگذاری هر دو انتهای کابل
برای جلوگیری از سردرگمی، هر دو انتهای کابل را برچسبگذاری کنید.
این اقدام مخصوصاً در سناریوهایی که کابلها مسافت طولانی را طی میکنند یا از مسیرهای متعدد عبور میکنند اهمیت دارد.
برچسبگذاری دوطرفه احتمال خطا در هنگام نگهداری یا پیکربندی مجدد را کاهش میدهد.
برچسبگذاری نقاط میانی
علاوه بر برچسبگذاری انتهای کابلها، برچسبگذاری نقاط میانی مانند:
اتصالات (Junctions)
سوئیچها (Switches)
پچ پنلها (Patch Panels)
این رویکرد نقشه کاملی از شبکه فراهم میکند و تشخیص مشکلات را بدون نیاز به ردیابی کامل کابلها آسانتر میکند.
جمعبندی
در دنیای پرسرعت دیتاسنترها، جایی که هر ثانیه اهمیت دارد، سرمایهگذاری زمان و منابع برای طراحی یک سیستم برچسبگذاری کابل مؤثر یک تصمیم استراتژیک است.
این اقدام کوچک اما قدرتمند و موثر، گامی مهم در ایجاد زیرساخت دادهای مقاوم و پاسخگو محسوب میشود و اساس بخشی از فراسند مستندسازی شبکه شماست.
با توجه به اینکه دیتاسنترها همچنان ستون فقرات دنیای دیجیتال ما هستند، اهمیت برچسبگذاری دقیق کابلها در نگهداری و رفع مشکلات آینده اهمیت ویژه ای خواهد داشت.
این امر تضمین میکند که این مراکز فناوری بهطور روان و قابل اعتماد عمل کنند و نیازهای یک فضای دیجیتال همیشه در حال گسترش را برآورده سازند.
معماریهای فیبر به کسبوکار: Home Run، PON و WDM + راهنمای مزایا و معایب
راهاندازی فیبر نوری برای کسبوکارها اتصال سریعتر و قابلاطمینانتری فراهم میکند و به کسبوکارها امکان میدهد دادهها را بهسرعت ذخیره و دسترسی داشته باشند و ارتباطات و فرآیندهای تجاری خود را بهینه کنند.
این مقاله به بررسی سه معماری رایج فیبر-به-کسبوکار (Fiber-to-the-Business) میپردازد و مزایا و معایب آنها را بررسی میکند.
معماری Home Run در فیبر-به-کسبوکار
اولین معماری فیبر-به-کسبوکار که بررسی میکنیم، معماری Home Run است، که از فیبرهای رزرو یا تاریک (Spare or Dark Fibers) برای اتصال هر کسبوکار بهطور جداگانه استفاده میکند.
در معماری Home Run، یک فیبر اصلی موجود (Existing Fiber Trunk) معمولاً میتواند یک گره مسکونی (Residential Node) و چند کسبوکار جداگانه را پشتیبانی کند. هر کسبوکار با فیبرهایی پشتیبانی میشود که باید از فیبر اصلی موجود جدا (Tapped) شوند.
شکل زیر سناریویی را نشان میدهد که یک فیبر اصلی موجود یک گره مسکونی و دو کسبوکار را تغذیه میکند. چهار فیبر از فیبرهای موجود که گره مسکونی را تغذیه میکنند جدا شدهاند، و فیبرهای خروجی از فیبرهای جدا شده قابل استفاده مجدد نیستند مگر اینکه کابل جدیدی به فیبر اصلی متصل شود.
شکل زیر سناریوی پیچیدهتری از معماری Home Run در فیبر-به-کسبوکار را نشان میدهد.

در این سناریو، هشت مشتری تجاری بالقوه وجود دارد و همچنین یک منطقه مسکونی جدید که به یک گره فیبر (Fiber Node) نیاز دارد.
برای ارائه خدمات به کسبوکارها و منازل، ۱۸ فیبر تاریک (Dark Fibers) در کابل اصلی موجود (Existing Trunk Cable) باید در محفظه اتصال موجود (Existing Splice Closure) متصل شوند.

مزایا و معایب
از دیدگاه فنی، مزایا و معایب معماری Home Run در فیبر-به-کسبوکار شامل موارد زیر است:
مزایا
پوشش شبکه طولانی عالی (Long-Haul) تا ۶۰ کیلومتر با بودجه لینک پایین (Low Link Budget)
سیستم کاملاً غیرفعال (Purely Passive) که نیاز به پروتکل ندارد
معایب
استفاده کم از فیبرهای خروجی (Downstream Fibers) از فیبرهای جدا شده (Tapped Fibers)
نیاز به فیبرهای تاریک بیشتر برای چندین کسبوکار و یک گره (Node)
معماری PON در فیبر-به-کسبوکار
در معماری PON (Passive Optical Network) برای فیبر-به-کسبوکار، فقط یک یا دو فیبر تاریک برای پشتیبانی از حداکثر ۱۶ تا ۳۲ کسبوکار لازم است.
شکل زیر نشان میدهد که چگونه یک فیبر اصلی موجود (Existing Fiber Trunk) دو کسبوکار و یک گره مسکونی را با استفاده از PON تغذیه میکند.

در این سناریو، فقط یک فیبر از فیبر اصلی موجود جدا میشود (Tapped) تا خدمات به مشتریان کسبوکار ارائه شود. این کار با استفاده از تقسیمکننده توان نوری (Optical Power Splitter) انجام میشود که میتواند سیگنال پخش شده را به چندین کسبوکار تقسیم کند.
فیبرهای خروجی از فیبرهای جدا شده میتوانند در صورت وجود توان نوری کافی، مجدداً استفاده شوند.
حالا بیایید به همان سناریوی پیچیدهای که در معماری Home Run استفاده شد برگردیم و ببینیم چگونه معماری PON در فیبر-به-کسبوکار میتواند تا هشت مشتری جدید کسبوکار و یک گره مسکونی جدید را پشتیبانی کند.
در این سناریو، فقط سه فیبر تاریک (Dark Fibers) از فیبر اصلی موجود لازم است.
سپس یک تقسیمکننده غیرفعال ۱x۸ مقاوم به شرایط محیطی (Field-Hardened, Passive 1x8 Splitter) در ترمینال خارج از مرکز (Outside Plant Terminal) نصب میشود، و از آن کابلهای Drop به سمت مشتریان کسبوکار کشیده میشوند.

مزایا و معایب معماری PON در فیبر-به-کسبوکار
مزایا و معایب معماری PON در فیبر-به-کسبوکار شامل موارد زیر است:
مزایا (Pros)
استفاده بهینه از فیبر موجود با ۱ یا ۲ فیبر برای هر PON
نیاز کمتر به فیبر تاریک برای پشتیبانی از چندین کسبوکار
سیستم کاملاً غیرفعال (Purely Passive)
معایب (Cons)
پهنای باند باید بین چندین کسبوکار به اشتراک گذاشته شود
فاصله محدود است به دلیل اتلاف نوری و محدودیت پروتکل
معماری WDM در فیبر-به-کسبوکار
معماری Wavelength Division Multiplexing (WDM) آخرین معماری فیبر-به-کسبوکار است که بررسی میکنیم.
این معماری بهطور سنتی در شبکههای طولانیمدت (Long-Haul) و مترو (Metro Networks) برای انتقال حجم بالای دادهها استفاده میشود و راهکار موثری برای ارائه فیبر به کسبوکارها فراهم میکند.
در معماری WDM فیبر-به-کسبوکار، یک اپراتور میتواند از ۱ یا ۲ فیبر از فیبر اصلی موجود استفاده کند تا طول موجهای مجزا (Individual Wavelengths) را به چندین کسبوکار منتقل کند.
شکل زیر تصویر دقیقی از این فرآیند را نشان میدهد:

از طریق دستگاه WDM Mux غیرفعال (Passive WDM Mux Device) در Headend یا Hub، طول موجهای مجزا روی یک فیبر تجمیع میشوند.
سپس دستگاه WDM Demux غیرفعال (Passive WDM Demux Device) که در ترمینال خارج از مرکز (Outside Plant Terminal) قرار دارد، طول موج مناسب را به مشترک بر همان جفت فیبر تحویل میدهد.
حال دوباره به همان سناریوی ذکر شده قبلی نگاه میکنیم.

در این سناریو، هشت کسبوکار جدید و یک گره جدید وجود دارد، اما فقط ۲ فیبر تاریک (Dark Fibers) از فیبر اصلی موجود لازم است.
ترمینالهای WDM Mux نقش کلیدی ایفا میکنند، زیرا به اپراتورها امکان میدهند دستگاههای WDM Mux را بهراحتی در محل نصب، نگهداری، اضافه کردن و آزمایش کنند.
مزایا و معایب معماری WDM در فیبر-به-کسبوکار
مزایا و معایب معماری WDM در فیبر-به-کسبوکار شامل موارد زیر است:
مزایا
استفاده بالا از فیبر موجود
نیاز فقط به ۲ فیبر برای داده و گره مسکونی CATV
سیستم کاملاً غیرفعال (Purely Passive) که نیاز به پروتکل ندارد
پهنای باند تقریباً نامحدود
معایب
فاصله محدود است به دلیل اتلاف نوری (Optical Loss)
جمعبندی
حال که با سه معماری رایج فیبر-به-کسبوکار بیشتر آشنا شدیم، واضح است که هر کدام مزایا و محدودیتهای خاص خود را دارند:
معماری Home Run برد طولانی دارد اما نیاز به فیبر تاریک بیشتری دارد.
معماری PON نیاز به فیبر تاریک کمتری دارد اما فاصله انتقال توسط پروتکلها محدود میشود.
معماری WDM کمترین نیاز به فیبر تاریک را دارد اما فاصله انتقال بیشترین محدودیت را به دلیل اتلاف نوری دارد.
بنابراین، کسبوکارها باید مزایا و محدودیتهای هر معماری را بسنجند تا تصمیمی آگاهانه اتخاذ کنند.
۲.۴ گیگاهرتز در برابر ۵ گیگاهرتز در برابر ۶ گیگاهرتز: تفاوت آنها چیست؟
وایفای (Wi-Fi) ۵ و ۶ گیگاهرتز سرعت بیشتر و تجربهای روانتر برای اینترنت، بازی آنلاین و کار فراهم میکنند؛ اما وایفای ۲.۴ گیگاهرتز با وجود سرعت کمتر، پوششدهی وسیعتری دارد.
ارتباطات بیسیم در باند وایفای ۵ گیگاهرتز و اکنون وایفای ۶ گیگاهرتز سرعت بالاتر و تجربهای روانتر برای اینترنت و بازی آنلاین فراهم میکنند؛ در حالیکه باند قدیمی وایفای ۲.۴ گیگاهرتز با وجود برد بیشتر، سرعت پایینتری دارد.
امروزه زندگی روزمرهی ما بیش از هر زمان دیگری به ارتباط بیسیم (وایفای) برای آموزش، کار و سرگرمی وابسته است. آشنایی با تفاوتهای وایفای ۲.۴ گیگاهرتز، وایفای ۵ گیگاهرتز و وایفای ۶ گیگاهرتز به شما کمک میکند بهترین سرعت اینترنت، بیشترین برد سیگنال و پوششدهی پایدار را برای دستگاههای بیسیمی که هر روز استفاده میکنید انتخاب کنید.
تفاوت وایفای ۲.۴ گیگاهرتز، ۵ گیگاهرتز و ۶ گیگاهرتز
درک گزینههای مختلف ارتباط بیسیم (وایفای - WiFi) از آشنایی با امواج شروع میشود — بهویژه امواج رادیویی که دستگاهها برای انتقال داده از طریق هوا از آنها استفاده میکنند.
تمام امواج دارای یک الگو هستند و میتوان آنها را با طول موج (مسافتی که یک موج طی میکند تا الگو دوباره تکرار شود) و فرکانس (تعداد دفعاتی که الگو در یک بازه زمانی مشخص تکرار میشود) توصیف کرد.
در بحث وایفای، طول موج و فرکانس به طور مستقیم بر سه عامل اصلی تأثیر میگذارند:
میزان دادهای که میتوان انتقال داد،
سرعتی که داده بین دستگاهها جابهجا میشود،
و فاصلهای که داده میتواند طی کند.
معنی اعداد در وایفای ۲.۴، ۵ و ۶ گیگاهرتز
امواج رادیویی (Radio Waves) اطلاعات را در یک بازه مشخص از فرکانسها منتقل میکنند که به آن طیف فرکانسی یا RF Spectrum گفته میشود. برای ارتباطات بیسیم، گروههای خاصی از این فرکانسها یا همان باندهای فرکانسی استفاده میشوند. هر باند میتواند شامل زیربخشهایی به نام کانال (Channel) باشد. استفاده از این باندها و کانالها برای کاربردهایی مثل وایفای (Wi-Fi)، تلویزیون، رادیو و کنترل ترافیک هوایی توسط سازمانهای دولتی تنظیم و مدیریت میشود.
اعداد ۲.۴ گیگاهرتز، ۵ گیگاهرتز و ۶ گیگاهرتز در واقع به همین باندهای فرکانسی تأییدشده برای استفاده بیسیم و بدون مجوز اشاره دارند.
عدد کمتر (مثل وایفای ۲.۴ گیگاهرتز) یعنی تکرار کمتر الگوی فرکانسی در هر ثانیه >> طول موج بلندتر >> برد بیشتر ولی سرعت کمتر.
عدد بیشتر (مثل وایفای ۵ گیگاهرتز و وایفای ۶ گیگاهرتز) یعنی تکرار بیشتر در هر ثانیه >> انتقال داده بیشتر >> سرعت بالاتر اما برد کوتاهتر.
برای مقایسه:
۱ هرتز (Hz) = یک تکرار در ثانیه.
۱ گیگاهرتز (GHz) = یک میلیارد تکرار در ثانیه.
درک ساده اتصال وایفای ۲.۴، ۵ و ۶ گیگاهرتز
یک روش ساده برای فهم اتصال بیسیم (وایفای) این است که هر باند فرکانسی را مثل یک نوع جاده مختلف در نظر بگیریم و کانالها را مثل تعداد و عرض لاینهای هر جاده تصور کنیم.
وایفای ۲.۴ گیگاهرتز
وایفای ۲.۴ گیگاهرتز شبیه یک جاده یک لاین روستایی است که برای ترافیک سنگین طراحی نشده اما میتواند شما را به مسافتهای طولانیتر و محیطهای سختتر ببرد. این یعنی برد بیشتر اما سرعت کمتر برای اینترنت و دستگاههای بیسیم.
وایفای ۵ گیگاهرتز
وایفای ۵ گیگاهرتز مثل یک بزرگراه چند لاینه است که معمولاً بهعنوان جایگزین جادههای روستایی استفاده میشود و گاهی حتی با وجود بزرگتر بودن، شلوغ و پر ترافیک است. این باند سرعت بیشتری نسبت به ۲.۴ گیگاهرتز دارد اما برد آن کمتر است.
وایفای ۶ گیگاهرتز
جدیدترین باند، وایفای ۶ گیگاهرتز، بزرگتر بوده و تعداد لاینهای پرسرعت بیشتری دارد که تنها برای سریعترین و جدیدترین دستگاهها اختصاص یافته است. این باند مناسب برای اینترنت با سرعت بالا، بازی آنلاین و انتقال دادههای سنگین است.
ملاحظات کانال در وایفای ۲.۴، ۵ و ۶ گیگاهرتز
همانطور که تعداد لاینهای یک جاده و عرض آنها میتواند سرعت رانندگی و زمان سفر را تحت تأثیر قرار دهد، ویژگیهای کانالهای فرکانسی (RF Channel) نیز بر سرعت اتصال وایفای و نرخ انتقال داده در یک باند فرکانسی تأثیر میگذارند.
کانالهای وایفای ۲.۴ گیگاهرتز
باند وایفای ۲.۴ گیگاهرتز دارای پهنای ۷۰ مگاهرتز است و دستگاهها معمولاً محدود به سه کانال ۲۰ مگاهرتزی هستند. این محدودیت باعث میشود سرعت انتقال داده کمتر باشد اما برد اتصال بیشتر حفظ شود.
کانالهای وایفای ۵ گیگاهرتز
باند وایفای ۵ گیگاهرتز تقریباً ۵۰۰ مگاهرتز پهنا دارد و دستگاهها میتوانند از شش کانال بزرگتر ۸۰ مگاهرتزی برای سرعتهای بالاتر استفاده کنند. با این حال، تنها دو کانال از شش کانال همیشه در دسترس هستند؛ چهار کانال دیگر گاهی به دلیل شرایط جوی یا رادار فرودگاه محدود میشوند.
کانالهای وایفای ۶ گیگاهرتز
باند وایفای ۶ گیگاهرتز پهنای ۱۲۰۰ مگاهرتز دارد (بیش از دو برابر باندهای ۲.۴ و ۵ گیگاهرتز) و از هفت کانال بزرگ ۱۶۰ مگاهرتزی پشتیبانی میکند. این کانالها فقط برای دستگاههای جدید Wi-Fi 6E قابل دسترسی هستند و امکان سرعتهای گیگابیتی وایفای و عملکرد بدون تداخل با وایفای قدیمی را فراهم میکنند.
جدیدترین استاندارد: وایفای ۶ گیگاهرتز
دسترسپذیری باندهای فرکانسی جدید توسط نهادهای دولتی تنظیم میشود تا اطمینان حاصل شود که نسلهای جدید فناوری بهخوبی عمل کنند. کشورها نمیخواهند فناوری جدید با تداخل دستگاههای قدیمی روی شبکههای قدیمی محدود شود.
تاریخچه و نیاز به باندهای جدید
باند وایفای ۲.۴ گیگاهرتز در روزهای اولیه وایفای عملکرد کافی ارائه میکرد، زمانی که تعداد دستگاهها کمتر بود و استفادهها سادهتر مثل ایمیل و وبگردی بود.
ورود باند ۵ گیگاهرتز
در طول ۱۰ تا ۱۵ سال گذشته، وایفای ۵ گیگاهرتز به باند مورد علاقه تبدیل شد، زیرا تعداد دستگاهها به شکل تصاعدی افزایش یافت، رزولوشن رسانهها و حجم فایلها بهطور چشمگیری رشد کرد و استفادههای ما پیچیدهتر شده است.
چرا باند وایفای ۶ گیگاهرتز معرفی شد؟
امروزه استفاده جمعی ما از ویدئو استریمینگ، بازیهای آنلاین و اپلیکیشنهای ابری به حدی زیاد شده که حتی وایفای ۵ گیگاهرتز هم گاهی با ازدحام روبهرو شده و تجربه کاربران را محدود میکند. به همین دلیل، از سال ۲۰۲۰ کمیسیون ارتباطات فدرال آمریکا (FCC) باند ۶ گیگاهرتز را بهطور انحصاری برای دستگاههای جدید در ایالات متحده آزاد کرد و سایر کشورها نیز در حال اجرای سیاست مشابه هستند.
تفاوت سرعت در وایفای ۲.۴، ۵ و ۶ گیگاهرتز
علاوه بر ویژگیهای کانالها، سرعت واقعی انتقال داده در وایفای تحت تأثیر عواملی مثل تداخل دستگاههای دیگر، وجود دیوارها یا موانع فیزیکی و محدودیتهای ارائهدهنده اینترنت (ISP) قرار میگیرد.
سرعت وایفای ۲.۴ گیگاهرتز
باند ۲.۴ گیگاهرتز میتواند حداکثر سرعتی حدود ۱۰۰ مگابیت بر ثانیه (Mbps) از طریق هوا ارائه دهد. این سرعت برای مرور وب، چک کردن ایمیل و استفادههای سبک مناسب است.
سرعت وایفای ۵ گیگاهرتز
باند ۵ گیگاهرتز قابلیت ارائه سرعتی تا ۱ گیگابیت بر ثانیه (Gbps) را دارد. این باند برای استریم ویدئو با کیفیت بالا، تماس تصویری و دانلود سریع فایلها بسیار کارآمد است.
سرعت وایفای ۶ گیگاهرتز
باند ۶ گیگاهرتز میتواند سرعتی تا ۲ گیگابیت بر ثانیه (Gbps) فراهم کند. این باند بهترین انتخاب برای بازی آنلاین بدون لگ، انتقال فایلهای سنگین و استفاده همزمان چندین دستگاه است.
تداخل، شلوغی شبکه و رقابت سیگنال
باند 2.4 گیگاهرتز قدیمیترین باند موجود در بازار است و بسیاری از دستگاههای قدیمی همچنان از این فرکانس استفاده میکنند. همین موضوع باعث ایجاد شلوغی شبکه میشود. به همین دلیل، کاربرانی که در آپارتمانها یا ساختمانهای شلوغ زندگی میکنند، هنگام استفاده از این باند با مشکلات اتصال مواجه میشوند. این باند علاوه بر داشتن بیشترین برد و قدرت نفوذ سیگنال از میان دیوارها، به طور سنتی بیشترین استفاده را هم دارد.
از سوی دیگر، باند 6 گیگاهرتز که جدیدترین باند تجاری در دسترس است، فقط روی دستگاههای جدیدتر و پیشرفتهتر ارائه میشود. به دلیل اینکه تعداد کمتری دستگاه در حال حاضر از این باند استفاده میکنند و همچنین کانالهای بیشتری در آن وجود دارد، کاربران در باند 6 گیگاهرتز با کمترین تراکم و تداخل ناشی از دستگاههای قدیمی مواجه خواهند شد.
انتخاب کانال
پس چطور میتوان اثر تداخل، شلوغی شبکه و تراکم سیگنال را بر سرعت و نرخ انتقال داده کاهش داد؟ خبر خوب این است که مودم یا سیستمعامل دستگاه شما همین حالا هم برای پیدا کردن بهترین مسیر در حال کار است.
معمولاً مودم (Router) بهترین کانال را برای دستگاه انتخاب میکند و اگر چندین مودم یا نقطه دسترسی (Access Point) وجود داشته باشد، سیستمعامل دستگاه نزدیکترین نقطه با قویترین سیگنال را انتخاب میکند—even اگر چندین دستگاه دیگر هم به همان کانال یا Access Point متصل باشند.
نقاط دسترسی (Access Points) سعی میکنند کانالهایی را انتخاب کنند که توسط شبکههای همسایه اشغال نشدهاند. با این حال، وقتی تعداد شبکهها زیاد باشد، ممکن است مجبور شوند کانالهای کوچکتری انتخاب کنند تا از تداخل جلوگیری شود؛ یا در بدترین حالت، همان کانالی را انتخاب کنند که شبکه دیگری هم روی آن فعال است.
علاوه بر این، میتوانید دستگاههایی را انتخاب کنید که قابلیت اتصال به چندین باند فرکانسی را داشته باشند. این کار گزینههای بیشتری برای ارتباط پایدارتر و عملکرد بهتر در اختیار شما قرار میدهد.
چه زمانی از 2.4 GHz، 5 GHz و 6 GHz استفاده کنیم؟
به طور کلی، هر اپلیکیشن یا فعالیتی که نیازمند سرعت بالا، دقت زیاد و پاسخدهی لحظهای (Real-time) باشد، بهترین عملکرد را روی باندهای فرکانسی بالاتر یعنی ۵ گیگاهرتز و ۶ گیگاهرتز خواهد داشت.
برای بازی آنلاین (Gaming)، سینمای خانگی (Home Theater) و دفتر خانگی (Home Office) که وابسته به تماسهای صوتی و تصویری متعدد هستند، استفاده از ۵ و ۶ گیگاهرتز توصیه میشود.
باند ۲.۴ گیگاهرتز بیشتر یک شبکهی Best Effort محسوب میشود؛ یعنی برای ارسال مقادیر کم داده در مسافتهای طولانیتر مناسب است.
درست است که برد (Range) باند ۲.۴ گیگاهرتز بیشتر از ۵ یا ۶ گیگاهرتز است، اما در عمل این تفاوت برد معمولاً خیلی محسوس نیست، چون اغلب کاربران با ۵ یا ۶ گیگاهرتز هم پوشش مشابه یا حتی بهتر در کل خانه دریافت میکنند.
تنوعبخشی به باندها برای بهترین اتصال و کارایی
یک کاربرد منطقی برای باند ۲.۴ گیگاهرتز، اتصال دستگاههای اینترنت اشیاء (IoT) در خانه است، مثل:
ترموستات هوشمند (Smart Thermostat)
زنگ در هوشمند (Smart Doorbell)
دوربینهای تحت شبکه (IP Cameras)
دلیل این کار ساده است:
با انتقال این دستگاهها به باند ۲.۴ گیگاهرتز، میتوان ازدحام شبکه (Network Contention) روی باندهای ۵ و ۶ گیگاهرتز را کاهش داد و این باندها را برای اپلیکیشنهای حیاتیتر و Real-time مثل استریمینگ و گیمینگ آزاد گذاشت.
Legacy Compatibility Across 2.4 GHz vs. 5 GHz vs. 6 GHz
اگر باندهای فرکانسی را به جاده تشبیه کنیم، سیگنالهای Wi-Fi همان خودروهایی هستند که روی این جادهها حرکت میکنند. همانطور که در جادهها ممکن است محدودیت برای نوع خودرو وجود داشته باشد، در شبکه Wi-Fi هم دستگاهها بسته به استاندارد Wi-Fiای که براساس آن ساخته شدهاند، میتوانند به باندهای خاصی متصل شوند.
تاریخچه استانداردهای Wi-Fi و سازگاری با باندها:
Wi-Fi 4 (802.11n – معرفی 2007)
دو نسخه داشت:
802.11bgn → فقط باند ۲.۴ گیگاهرتز
802.11agn → دوبانده (۲.۴ و ۵ گیگاهرتز)
Wi-Fi 5 (802.11ac)
به طور پیشفرض فقط روی ۵ گیگاهرتز کار میکند.
اما بسیاری از محصولات Wi-Fi 5 همچنان از حالت Legacy Wi-Fi 4 (802.11bgn) برای اتصال به ۲.۴ گیگاهرتز هم استفاده میکردند.
Wi-Fi 6 (802.11ax)
این استاندارد پیش از عرضه باند ۶ گیگاهرتز توسعه داده شد.
بنابراین Wi-Fi 6 میتواند به ۲.۴ و ۵ گیگاهرتز وصل شود، اما نه به ۶ گیگاهرتز.
Wi-Fi 6E
نسخه ارتقاءیافته Wi-Fi 6 است.
از هر سه باند ۲.۴، ۵ و ۶ گیگاهرتز پشتیبانی میکند.
نکته مهم:
نمیتوان صرفاً با دانستن نسل Wi-Fi (مثل Wi-Fi 4، Wi-Fi 5 یا Wi-Fi 6) متوجه شد که دستگاه به چه باندهایی دسترسی دارد، چون برخی محصولات برای سازگاری با دستگاههای قدیمیتر (Legacy Compatibility) باندهای اضافه را هم فعال کردهاند.
استفاده از دستگاههای جدید برای سرعتهای بالاتر Wi-Fi
اگر میخواهید از بالاترین سرعتهای بیسیم بهرهمند شوید، باید روترها، اکسس پوینتها و دستگاههای جدیدی تهیه کنید که از اتصال ۶ گیگاهرتز پشتیبانی کنند. خبر خوب این است که دستگاههای قدیمیتر همچنان میتوانند به باندهای Wi-Fi قدیمی روی روترهای سهباندی (Tri-Band Routers) متصل شوند.
استانداردهای صنعتی (Industry Standards)
فناوریهای Wi-Fi که روزانه از آنها استفاده میکنیم، از Wi-Fi 4 تا Wi-Fi 6E، بر اساس استانداردهایی مثل 802.11 و نسخههای مختلف آن توسعه داده و عرضه شدهاند.
این استانداردها توسط نهادهای صنعتی معتبر تدوین، آزمایش و تأیید میشوند، از جمله:
IEEE (Institute of Electrical and Electronics Engineers) – مؤسسه مهندسان برق و الکترونیک
WFA (Wi-Fi Alliance) – اتحادیه Wi-Fi
WBA (Wireless Broadband Alliance) – اتحادیه پهنباند بیسیم
این سازمانها وظیفه دارند تا تضمین کنند دستگاهها با یکدیگر سازگار باشند و کاربران تجربهای یکپارچه از Wi-Fi داشته باشند.
شرکت Intel طی دو دهه اخیر نقش مهمی در این نهادها داشته و با رهبری و نوآوری در توسعه استانداردها، باعث شده که بسیاری از دستگاههای بیسیم امروزی با ثبات و کیفیت بالا کار کنند.
بهترین انتخاب برای اتصال بیسیم: Intel
شرکت Intel از سال 2003 با معرفی پلتفرم Intel® Centrino® تا امروز و عرضه لپتاپهای Intel® Evo™ همواره بر ایجاد بهترین تجربههای بیسیم تمرکز داشته است.
تفاوت Intel® Wi-Fi با رقبا در تأییدیههای گسترده پلتفرم و اکوسیستم است که باعث میشود کاربران از اتصال پرسرعت، پایدار و قابل اعتماد لذت ببرند.
لپتاپهای Intel با جدیدترین پردازندهها
برای تضمین بهترین تجربه شبکهای، اینتل از سال 2022 به بعد، وجود Intel® Wi-Fi 6E (Gig+) را در تمام لپتاپهای Intel® Evo™ و Intel vPro® الزامی کرده است.
🔹 کشف قابلیتهای لپتاپهای Intel® Evo™
🔹 بررسی لپتاپهای مبتنی بر پلتفرم Intel vPro®
Intel® Killer™ Wi-Fi برای گیمینگ 🎮
یکی از نوآوریهای مهم اینتل برای گیمرها، Intel® Killer™ Wi-Fi است. این فناوری در برخی لپتاپهای اینتل و همچنین بهصورت کیتهای PCIe برای دسکتاپ عرضه میشود.
ویژگی اصلی آن:
اولویتدهی به بستههای داده گیمینگ نسبت به پردازشهای پسزمینه (مثل آپدیت سیستم)
نتیجه: کاهش تأخیر (Low Latency) و بهبود تجربه بازی آنلاین
🔹 بررسی محصولات Intel® Killer™ Wi-Fi
همهی Wi-Fi ها شبیه هم نیستند
در نگاه اول ممکن است ارتباط بیسیم (Wi-Fi) موضوعی ساده و بدیهی به نظر برسد، اما واقعیت این است که کیفیت Wi-Fi در همه دستگاهها یکسان نیست. شرکت Intel طی سالها با تمرکز بر نوآوری و بهبود، فناوری Wi-Fi را در تمام پلتفرمهای رایانهای خود ارتقاء داده است.
امروزه وابستگی ما به اتصال بیسیم برای آموزش، کار، سرگرمی و زندگی روزمره روزبهروز بیشتر میشود و با پیشرفت فناوری، فرصتها و تجربههای جدیدتری در اختیار ما قرار میگیرد.
اینتل در این مسیر متعهد است که Wi-Fi را هرچه قدرتمندتر، پایدارتر و یکپارچهتر کند تا کاربران بتوانند بهترین تجربه بیسیم ممکن را داشته باشند.
راهنمای کامل فیوژن و فیوژن مکانیکی فیبر نوری: مراحل، هزینه و عملکرد
هنگام صحبت درباره اتصال (فیوژن) کابلهای فیبر نوری (Fiber Optic Splicing)، دو روش اصلی برای اتصال فیبر وجود دارد که میتوان انتخاب کرد: اتصال جوشی (Fusion Splicing) و اتصال مکانیکی (Mechanical Splicing). اگر تازه وارد زمینه اتصال کابل فیبر نوری هستید، ممکن است بخواهید اهداف بلندمدت خود در این حوزه را بررسی کنید تا تکنیکی که بهترین تطابق را با اهداف اقتصادی و عملکردی شما دارد را انتخاب کنید.
این راهنمای آموزشی به بررسی هر دو روش خواهد پرداخت و در نهایت یک مقایسه بین این دو روش ارائه خواهد شد.
تعریف فیوژن و فیوژن مکانیکی
هر دو روش اتصال جوشی (Fusion Splice) و اتصال مکانیکی (Mechanical Splice) یک هدف را دنبال میکنند: دو فیبر نوری را به هم متصل کرده و به گونهای نگه دارند که سیگنال نوری بتواند از نقطه اتصال عبور کند.
به طور دقیقتر، اتصال جوشی یک اتصال بین دو یا چند فیبر نوری است که با ذوب شدن به هم اتصال شدهاند. این کار توسط دستگاهی به نام Fusion Splicer انجام میشود که دو عملکرد اصلی دارد: همترازی فیبرها و ذوب کردن آنها با هم، معمولاً با استفاده از قوس الکتریکی.
از طرف دیگر، اتصال مکانیکی صرفاً دستگاهی برای همترازی فیبرها است و دو فیبر را به طور دائم به هم متصل نمیکند. این روش به گونهای طراحی شده که دو انتهای فیبر را در موقعیت دقیق همتراز نگه دارد و بدین ترتیب نور از یک فیبر به فیبر دیگر منتقل شود.
فرآیند اتصال جوشی و اتصال مکانیکی
چهار مرحله اصلی در اتصال جوشی و اتصال مکانیکی وجود دارد. در دو مرحله اول تقریباً مشابه هستند و در دو مرحله آخر تفاوتهای کوچکی وجود دارد.
مراحل اتصال جوشی
مرحله ۱: آمادهسازی فیبر (Fiber Preparation)
فیبرها با حذف تمام پوششهای محافظ مانند کلاهک، ژاکت و غلاف آماده میشوند. زمانی که تنها شیشه خام باقی میماند، فیبرها با دقت تمیز میشوند — در اینجا پاکیزگی بسیار مهم است.
مرحله ۲: شکافتن فیبر (Cleaving)
شکافتن به معنای برش نیست. همانطور که واژه نشان میدهد، با استفاده از Cleaver، فیبر نمرهگذاری شده و کشیده یا خم میشود تا شکسته شود. انتهای شکافته شده باید کاملاً صاف و عمود بر محور فیبر باشد تا اتصال درست ایجاد شود.
مرحله ۳: فیوز کردن فیبرها(Fusing the Fibers)
اتصال جوشی (Fusion) به نوبه خود شامل دو مرحله است: همترازی (Aligning) و گرم کردن (Heating). همترازی میتواند ثابت یا سهبعدی، دستی یا اتوماتیک باشد و معمولاً با کمک دستگاههای بزرگنمایی تصاویر انتهای فیبر انجام میشود تا فیبرها به درستی موقعیتیابی شوند.
دستگاههای معمول برای بزرگنمایی شامل دوربینهای ویدیویی، تلسکوپهای دید و اندازهگیرهای توان نوری هستند. همترازی فیبرها به معنای قرار دادن دقیق دو انتهای فیبر کنار هم است تا نور بتواند از یک فیبر به فیبر دیگر با حداقل افت، بازتاب یا اعوجاج عبور کند.
پس از همترازی، فیبرها با ایجاد قوس الکتریکی با ولتاژ بالا ذوب یا فیوز میشوند و سپس به هم فشرده یا هدایت میشوند تا اتصال نهایی برقرار شود.
مرحله ۴: محافظت از فیبر (Protecting the Fiber)
محافظت از فیبر نوری در برابر خم شدن و نیروهای کششی باعث میشود که اتصال جوشی (Fusion Splice) در طول استفاده عادی آسیب نبیند. یک اتصال جوشی معمولی دارای مقاومت کششی بین ۰.۵ تا ۱.۵ پوند است و در کاربردهای معمولی نمیشکند، اما هنوز نیاز به محافظت در برابر خم شدن و کشش بیش از حد دارد.
استفاده از لولههای حرارتی (Heat Shrink Tubing)، ژل سیلیکونی و/یا محافظهای مکانیکی (Mechanical Crimp Protectors) باعث میشود اتصال جوشی از عناصر خارجی و شکست محافظت شود.
مراحل اتصال مکانیکی
همانطور که پیشتر ذکر شد، تفاوت بین اتصال جوشی و اتصال مکانیکی در دو مرحله آخر است. بنابراین، مرحله ۳ و مرحله ۴ اتصال مکانیکی به شرح زیر هستند.
مرحله ۱ و ۲: مشابه مراحل اتصال جوشی است (آمادهسازی فیبر و شکافتن).
مرحله ۳: اتصال مکانیکی فیبرها (Mechanically Join the Fibers)
در این روش هیچ گرمایی استفاده نمیشود. کافیست انتهای فیبرها را داخل واحد اتصال مکانیکی قرار دهید. ژل تطبیق شاخص (Index Matching Gel) داخل دستگاه به انتقال نور از یک فیبر به فیبر دیگر کمک میکند. در دستگاههای قدیمیتر، به جای ژل تطبیق شاخص از اپوکسی برای نگه داشتن هستههای فیبر استفاده میشود.
مرحله ۴: محافظت از فیبر (Protecting the Fiber)
اتصال مکانیکی محافظت خود را برای اتصال فراهم میکند و نیاز به اقدامات اضافی برای حفاظت ندارد.
اتصال جوشی در مقابل اتصال مکانیکی: کدام روش را انتخاب کنیم؟
دلیل اصلی انتخاب یکی از این دو روش معمولاً به هزینه و عملکرد (Cost and Performance) بستگی دارد.
هزینه
اتصال جوشی (Fusion Splice) معمولاً سرمایهگذاری اولیه بالاتری دارد، زیرا نیاز به افزودن دستگاه اتصال جوشی به ابزارهای شما دارد. با این حال، هزینه متغیر هر اتصال پایینتر است و بین ۰.۵ تا ۱.۵ دلار به ازای هر اتصال میباشد.
اتصال مکانیکی (Mechanical Splice) نیاز به سرمایهگذاری اولیه زیاد در ابزار ندارد، اما هزینه متغیر بالاتری دارد، بین ۱۰ تا ۳۰ دلار به ازای هر اتصال. هرچه تعداد اتصالات بیشتر شود، اتصال مکانیکی از نظر هزینه کمتر به صرفه خواهد بود به دلیل هزینه متغیر بالای هر ترمینیشن.
عملکرد
با اتصال مکانیکی، افت ورود سیگنال (Insertion Loss – IL) معمولاً بالاتر است، بین ۰.۲ تا ۰.۷۵ دسیبل، زیرا دو فیبر تنها همتراز میشوند و به طور فیزیکی به هم متصل نمیشوند.
اتصال جوشی افت کمتری دارد و عملکرد بهتری ارائه میدهد، زیرا اتصال پیوسته بین دو فیبر ایجاد میکند. افت معمولی در اتصال جوشی کمتر از ۰.۱ دسیبل است که حفاظت بهتری در برابر خرابی کابل و سیگنالهای ضعیف فراهم میکند.
نتیجهگیری
به طور کلی، مزایای اصلی اتصال جوشی (Fusion Splice) شامل افت کمتر و عملکرد بهتر در بازتاب نور (Reflectance Performance) است. در این زمینهها، اتصال جوشی بر اتصال مکانیکی (Mechanical Splice) برتری دارد.
بسیاری از شرکتهای مخابرات و CATV برای شبکههای طولانی تکحالته (Long Haul Single-Mode Networks) خود در اتصال جوشی سرمایهگذاری میکنند، اما برای کابلهای محلی کوتاهتر همچنان از اتصال مکانیکی استفاده میکنند.
از آنجایی که سیگنالهای ویدیویی آنالوگ برای عملکرد بهینه نیاز به بازتاب کم دارند، اتصال جوشی برای این کاربرد ترجیح داده میشود. در صنعت LAN، انتخاب بین دو روش باز است، زیرا افت سیگنال و بازتاب نور برای اکثر کاربردهای LAN نگرانی قابل توجهی ایجاد نمیکند.


